Submit manuscript...
MOJ
eISSN: 2572-8520

Civil Engineering

Research Article Volume 2 Issue 4

Clamped cylindrical shells of laminated composites: effect of cutout on natural frequency and mode shapes

Sarmila Sahoo

Sarmila Sahoo, Department of Civil Engineering, Heritage Institute of Technology, Kolkata 700107, India

Correspondence: Sarmila Sahoo, Department of Civil Engineering, Heritage Institute of Technology, Kolkata 700107, India

Received: February 16, 2017 | Published: April 18, 2017

Citation: Sahoo S. Clamped cylindrical shells of laminated composites: effect of cutout on natural frequency and mode shapes. MOJ Civil Eng. 2017;2(4):129-134. DOI: 10.15406/mojce.2017.02.00040

Download PDF

Abstract

Clamped cylindrical shells made of laminated composite materials in presence of stiffeners and cutouts are analyzed employing the eight-noded curved quadratic isoperimetric element for shell with a three noded beam element for stiffener formulation. Free vibration problem of stiffened cylindrical shells with different size and position of the cutouts with respect to the shell centre are examined to find natural frequency and mode shapes of stiffened shells and arrive at some conclusions useful to the designers. The results are further analyzed to suggest guidelines to select optimum size and position of the cutout with respect to shell centre.

Keywords: clamped cylindrical shell, laminated composite, cutout, natural frequency, mode shape

Introduction

Laminated composites are increasingly being used nowadays in aerospace, civil, marine and other related weight-sensitive engineering applications requiring high strength-to-weight and stiffness-to weight ratios. Cylindrical shells, a special type of shells, are found in many applications in the aerospace and naval construction industries. They are often used as load-bearing structures for aircrafts, rockets, submarines and missile bodies. Of course, the cylindrical shells used in those applications are designed with stiffeners to provide better strength, stiffness and buckling characteristics. Cutouts are provided in shell panels to save weight and also to provide a facility for inspection. In practice the margin of the cutouts are stiffened to take account of stress concentration effects. Also, there can be some instruments directly fixed on these panels, and the safety of these instruments can be dependent on the vibration characteristics of the panels. Hence free vibration studies on cylindrical shell panels with cutouts are of interest to structural engineers.

Dynamic analysis of shell structures having complex geometry, loading and boundary conditions can be solved efficiently by finite element method. Different computational models for laminated composites were proposed by researchers. Vibration of shells is an extensively studied area in mechanical and structural dynamics. The natural frequencies of the cylindrical shells lie in a narrow band and they are prone to becoming involved in resonant vibrations. To control the amplitudes of these vibrations, it is necessary to know the distribution of the natural frequencies in order to design the cylindrical shell structures safely from the viewpoint of optimum vibration control.1 Vibration of cylindrical shells has been extensively studied by many researchers.2,3 Warburton4 contributed information about the vibration of thin cylindrical shells. Leissa et al.5 & Chung6 studied the free vibration characteristics of cylindrical shells. Free vibration of antisymmetric angle-ply laminated circular cylindrical panels was studied by Soldatos.7 A review on vibration of isotropic and multilayered laminated cylindrical shells is also available.8 Leissa9 presented a detailed discussion on shell vibration problems and provides different aspects of vibration of cylindrical shells with different shell theories and boundary conditions. A bulk of research papers are found on the vibration of cylindrical shells without cutout. Dennis & Palazotto10 and Nanda & Bandyopadhyay11 concentrated on static and dynamic responses respectively of a cylindrical composite panel with cutout using a geometrically nonlinear theory. However natural frequency and vibration mode shapes of clamped cylindrical shells with cutout is not present in the existing body of literature. Accordingly, the present study considers natural frequencies and mode shape of composite cylindrical shell with cutout (stiffened along the margin) with concentric and eccentric cutouts, and considers the shell panel to be clamped at all edges.

Formulation

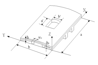
A laminated composite cylindrical shell of uniform thickness h (Figure 1) and radius of curvature Ry is considered. Keeping the total thickness same, the thickness may consist of any number of thin laminate each of which may be arbitrarily oriented at an angle q with reference to the X-axis of the co-ordinate system. The constitutive equations for the shell are given by

{F}=[E]{e} (1)

Where, { F }= { N x , N y , N xy , M x , M y , M xy , Q x , Q y } T MathType@MTEF@5@5@+= feaagKart1ev2aaatCvAUfeBSjuyZL2yd9gzLbvyNv2CaerbuLwBLn hiov2DGi1BTfMBaeXatLxBI9gBaerbd9wDYLwzYbItLDharqqtubsr 4rNCHbGeaGqiVu0Je9sqqrpepC0xbbL8F4rqqrFfpeea0xe9Lq=Jc9 vqaqpepm0xbba9pwe9Q8fs0=yqaqpepae9pg0FirpepeKkFr0xfr=x fr=xb9adbaqaaeGaciGaaiaabeqaamaabaabaaGcbaqcfa4aaiWaaO qaaKqzGeGaamOraaGccaGL7bGaayzFaaqcLbsacqGH9aqpjuaGdaGa daGcbaqcLbsafaqabeqaiaaaaaGcbaqcLbsacaWGobWcdaWgaaqaaK qzadGaamiEaaWcbeaajugibiaacYcaaOqaaKqzGeGaamOtaSWaaSba aeaajugWaiaadMhaaSqabaqcLbsacaGGSaaakeaajugibiaad6ealm aaBaaabaqcLbmacaWG4bGaamyEaaWcbeaajugibiaacYcaaOqaaKqz GeGaamytaKqbaoaaBaaaleaajugWaiaadIhaaSqabaqcLbsacaGGSa aakeaajugibiaad2eajuaGdaWgaaWcbaqcLbmacaWG5baaleqaaKqz GeGaaiilaaGcbaqcLbsacaWGnbWcdaWgaaqaaKqzadGaamiEaiaadM haaSqabaqcLbsacaGGSaaakeaajugibiaadgfalmaaBaaabaqcLbma caWG4baaleqaaKqzGeGaaiilaaGcbaqcLbsacaWGrbqcfa4aaSbaaS qaaKqzadGaamyEaaWcbeaaaaaakiaawUhacaGL9baalmaaCaaabeqa aKqzadGaamivaaaaaaa@6C3C@ ,

[ E ]=[ [ A ] [ B ] [ 0 ] [ B ] [ D ] [ 0 ] [ 0 ] [ 0 ] [ S ] ] MathType@MTEF@5@5@+= feaagKart1ev2aaatCvAUfeBSjuyZL2yd9gzLbvyNv2CaerbuLwBLn hiov2DGi1BTfMBaeXatLxBI9gBaerbd9wDYLwzYbItLDharqqtubsr 4rNCHbGeaGqiVu0Je9sqqrpepC0xbbL8F4rqqrFfpeea0xe9Lq=Jc9 vqaqpepm0xbba9pwe9Q8fs0=yqaqpepae9pg0FirpepeKkFr0xfr=x fr=xb9adbaqaaeGaciGaaiaabeqaamaabaabaaGcbaqcfa4aamWaaO qaaKqzGeGaamyraaGccaGLBbGaayzxaaqcLbsacqGH9aqpjuaGdaWa daGcbaqcLbsafaqabeWadaaakeaajuaGdaWadaGcbaqcLbsacaWGbb aakiaawUfacaGLDbaaaeaajuaGdaWadaGcbaqcLbsacaWGcbaakiaa wUfacaGLDbaaaeaajuaGdaWadaGcbaqcLbsacaaIWaaakiaawUfaca GLDbaaaeaajuaGdaWadaGcbaqcLbsacaWGcbaakiaawUfacaGLDbaa aeaajuaGdaWadaGcbaqcLbsacaWGebaakiaawUfacaGLDbaaaeaaju aGdaWadaGcbaqcLbsacaaIWaaakiaawUfacaGLDbaaaeaajuaGdaWa daGcbaqcLbsacaaIWaaakiaawUfacaGLDbaaaeaajuaGdaWadaGcba qcLbsacaaIWaaakiaawUfacaGLDbaaaeaajuaGdaWadaGcbaqcLbsa caWGtbaakiaawUfacaGLDbaaaaaacaGLBbGaayzxaaaaaa@61CA@ , { ε }= { ε x 0 , ε y 0 , γ xy 0 , k x , k y , k xy , γ xz 0 , γ yz 0 } T MathType@MTEF@5@5@+= feaagKart1ev2aaatCvAUfeBSjuyZL2yd9gzLbvyNv2CaerbuLwBLn hiov2DGi1BTfMBaeXatLxBI9gBaerbd9wDYLwzYbItLDharqqtubsr 4rNCHbGeaGqiVu0Je9sqqrpepC0xbbL8F4rqqrFfpeea0xe9Lq=Jc9 vqaqpepm0xbba9pwe9Q8fs0=yqaqpepae9pg0FirpepeKkFr0xfr=x fr=xb9adbaqaaeGaciGaaiaabeqaamaabaabaaGcbaqcfa4aaiWaaO qaaKqzGeGaeqyTdugakiaawUhacaGL9baajugibiabg2da9Kqbaoaa cmaakeaajugibuaabeqabGaaaaaakeaajugibiabew7aLTWaa0baae aajugWaiaadIhaaSqaaKqzadGaaGimaaaajugibiaacYcaaOqaaKqz GeGaeqyTdu2cdaqhaaqaaKqzadGaamyEaaWcbaqcLbmacaaIWaaaaK qzGeGaaiilaaGcbaqcLbsacqaHZoWzlmaaDaaabaqcLbmacaWG4bGa amyEaaWcbaqcLbmacaaIWaaaaKqzGeGaaiilaaGcbaqcLbsacaWGRb qcfa4aaSbaaSqaaKqzadGaamiEaaWcbeaajugibiaacYcaaOqaaKqz GeGaam4AaKqbaoaaBaaaleaajugWaiaadMhaaSqabaqcLbsacaGGSa aakeaajugibiaadUgalmaaBaaabaqcLbmacaWG4bGaamyEaaWcbeaa jugibiaacYcaaOqaaKqzGeGaeq4SdC2cdaqhaaqaaKqzadGaamiEai aadQhaaSqaaKqzadGaaGimaaaajugibiaacYcaaOqaaKqzGeGaeq4S dC2cdaqhaaqaaKqzadGaamyEaiaadQhaaSqaaKqzadGaaGimaaaaaa aakiaawUhacaGL9baalmaaCaaabeqaaKqzadGaamivaaaaaaa@7C8D@ .

The force and moment resultants are expressed as

{ N x , N y , N xy , M x , M y , M xy , Q x , Q y } T = h/2 h/2 { σ x , σ y , τ xy , σ z .z, σ y .z, τ xy .z, τ xz , τ yz } T dz MathType@MTEF@5@5@+= feaagKart1ev2aaatCvAUfeBSjuyZL2yd9gzLbvyNv2CaerbuLwBLn hiov2DGi1BTfMBaeXatLxBI9gBaerbd9wDYLwzYbItLDharqqtubsr 4rNCHbGeaGqiVu0Je9sqqrpepC0xbbL8F4rqqrFfpeea0xe9Lq=Jc9 vqaqpepm0xbba9pwe9Q8fs0=yqaqpepae9pg0FirpepeKkFr0xfr=x fr=xb9adbaqaaeGaciGaaiaabeqaamaabaabaaGceaqabeaajuaGda GadaGcbaqcLbsafaqabeqaiaaaaaGcbaqcLbsacaWGobWcdaWgaaqa aKqzadGaamiEaaWcbeaajugibiaacYcaaOqaaKqzGeGaamOtaSWaaS baaeaajugWaiaadMhaaSqabaqcLbsacaGGSaaakeaajugibiaad6ea juaGdaWgaaWcbaqcLbmacaWG4bGaamyEaaWcbeaajugibiaacYcaaO qaaKqzGeGaamytaKqbaoaaBaaaleaajugWaiaadIhaaSqabaqcLbsa caGGSaaakeaajugibiaad2ealmaaBaaabaqcLbmacaWG5baaleqaaK qzGeGaaiilaaGcbaqcLbsacaWGnbWcdaWgaaqaaKqzadGaamiEaiaa dMhaaSqabaqcLbsacaGGSaaakeaajugibiaadgfalmaaBaaabaqcLb macaWG4baaleqaaKqzGeGaaiilaaGcbaqcLbsacaWGrbWcdaWgaaqa aKqzadGaamyEaaWcbeaaaaaakiaawUhacaGL9baalmaaCaaabeqaaK qzadGaamivaaaaaOqaaKqzGeGaaGPaVlaaykW7caaMc8UaaGPaVlaa ykW7caaMc8UaaGPaVlaaykW7caaMc8UaaGPaVlaaykW7caaMc8UaaG PaVlaaykW7caaMc8UaaGPaVlaaykW7caaMc8UaaGPaVlaaykW7caaM c8UaaGPaVlaaykW7caaMc8UaaGPaVlaaykW7caaMc8UaaGPaVlaayk W7caaMc8UaaGPaVlaaykW7caaMc8UaaGPaVlaaykW7caaMc8UaaGPa Vlabg2da9KqbaoaapehakeaajuaGdaGadaGcbaqcLbsafaqabeqaia aaaaGcbaqcLbsacqaHdpWClmaaBaaabaqcLbmacaWG4baaleqaaKqz GeGaaiilaaGcbaqcLbsacqaHdpWCjuaGdaWgaaWcbaqcLbmacaWG5b aaleqaaKqzGeGaaiilaaGcbaqcLbsacqaHepaDjuaGdaWgaaWcbaqc LbmacaWG4bGaamyEaaWcbeaajugibiaacYcaaOqaaKqzGeGaeq4Wdm xcfa4aaSbaaSqaaKqzGeGaamOEaaWcbeaajugibiaac6cacaWG6bGa aiilaaGcbaqcLbsacqaHdpWCjuaGdaWgaaWcbaqcLbsacaWG5baale qaaKqzGeGaaiOlaiaadQhacaGGSaaakeaajugibiabes8a0Lqbaoaa BaaaleaajugWaiaadIhacaWG5baaleqaaKqzGeGaaiOlaiaadQhaca GGSaaakeaajugibiabes8a0TWaaSbaaeaajugWaiaadIhacaWG6baa leqaaKqzGeGaaiilaaGcbaqcLbsacqaHepaDjuaGdaWgaaWcbaqcLb macaWG5bGaamOEaaWcbeaaaaaakiaawUhacaGL9baajuaGdaahaaWc beqaaKqzadGaamivaaaajugibiaadsgacaWG6baaleaajugWaiabgk HiTiaadIgacaGGVaGaaGOmaaWcbaqcLbmacaWGObGaai4laiaaikda aKqzGeGaey4kIipaaaaa@EEC5@ (2)

The sub matrices [A], [B], [D] and [S] of the elasticity matrix [E] are functions of Young’s moduli, shear moduli and the Poisson’s ratio of the laminates. They also depend on the angle which the individual lamina of a laminate makes with the global X-axis. The detailed expressions of the elements of the elasticity matrix are available in several references including Vasiliev et al.12 & Qatu.13 The strain-displacement relations on the basis of improved first order approximation theory for thin shell are established as

{ ε x , ε y , γ xy , γ xz , γ yz } T = { ε x 0 , ε y 0 , γ xy 0 , γ xz 0 , γ yz 0 } T +z { k x , k y , k xy , k xz , k yz } T MathType@MTEF@5@5@+= feaagKart1ev2aaatCvAUfeBSjuyZL2yd9gzLbvyNv2CaerbuLwBLn hiov2DGi1BTfMBaeXatLxBI9gBaerbd9wDYLwzYbItLDharqqtubsr 4rNCHbGeaGqiVu0Je9sqqrpepC0xbbL8F4rqqrFfpeea0xe9Lq=Jc9 vqaqpepm0xbba9pwe9Q8fs0=yqaqpepae9pg0FirpepeKkFr0xfr=x fr=xb9adbaqaaeGaciGaaiaabeqaamaabaabaaGcbaWaaiWaaeaafa qabeqafaaaaeaacqaH1oqzdaWgaaWcbaGaamiEaaqabaGccaGGSaaa baGaeqyTdu2aaSbaaSqaaiaadMhaaeqaaOGaaiilaaqaaiabeo7aNn aaBaaaleaacaWG4bGaamyEaaqabaGccaGGSaaabaGaeq4SdC2aaSba aSqaaiaadIhacaWG6baabeaakiaacYcaaeaacqaHZoWzdaWgaaWcba GaamyEaiaadQhaaeqaaaaaaOGaay5Eaiaaw2haamaaCaaaleqabaGa amivaaaakiabg2da9maacmaabaqbaeqabeqbaaaabaGaeqyTdu2aa0 baaSqaaiaadIhaaeaacaaIWaaaaOGaaiilaaqaaiabew7aLnaaDaaa leaacaWG5baabaGaaGimaaaakiaacYcaaeaacqaHZoWzdaqhaaWcba GaamiEaiaadMhaaeaacaaIWaaaaOGaaiilaaqaaiabeo7aNnaaDaaa leaacaWG4bGaamOEaaqaaiaaicdaaaGccaGGSaaabaGaeq4SdC2aa0 baaSqaaiaadMhacaWG6baabaGaaGimaaaaaaaakiaawUhacaGL9baa daahaaWcbeqaaiaadsfaaaGccqGHRaWkcaWG6bWaaiWaaeaafaqabe qafaaaaeaacaWGRbWaaSbaaSqaaiaadIhaaeqaaOGaaiilaaqaaiaa dUgadaWgaaWcbaGaamyEaaqabaGccaGGSaaabaGaam4AamaaBaaale aacaWG4bGaamyEaaqabaGccaGGSaaabaGaam4AamaaBaaaleaacaWG 4bGaamOEaaqabaGccaGGSaaabaGaam4AamaaBaaaleaacaWG5bGaam OEaaqabaaaaaGccaGL7bGaayzFaaWaaWbaaSqabeaacaWGubaaaaaa @7EE3@      (3)

where, the first vector is the mid-surface strain for a cylindrical shell and the second vector is the curvature. An eight-noded curved quadratic isoperimetric finite element is used for cylindrical shell analysis. The five degrees of freedom taken into consideration at each node are u, v, w, a, b. The following expressions establish the relations between the displacement at any point with respect to the co-ordinates x and h and the nodal degrees of freedom.
u= i=1 8 N i u i MathType@MTEF@5@5@+= feaagKart1ev2aaatCvAUfeBSjuyZL2yd9gzLbvyNv2CaerbuLwBLn hiov2DGi1BTfMBaeXatLxBI9gBaerbd9wDYLwzYbItLDharqqtubsr 4rNCHbGeaGqiVu0Je9sqqrpepC0xbbL8F4rqqrFfpeea0xe9Lq=Jc9 vqaqpepm0xbba9pwe9Q8fs0=yqaqpepae9pg0FirpepeKkFr0xfr=x fr=xb9adbaqaaeGaciGaaiaabeqaamaabaabaaGcbaqcLbsacaWG1b Gaeyypa0tcfa4aaabCaOqaaKqzGeGaamOtaSWaaSbaaeaajugWaiaa dMgaaSqabaaabaqcLbmacaWGPbGaeyypa0JaaGymaaWcbaqcLbmaca aI4aaajugibiabggHiLdGaamyDaSWaaSbaaeaajugWaiaadMgaaSqa baaaaa@48B0@   v= i=1 8 N i v i MathType@MTEF@5@5@+= feaagKart1ev2aaatCvAUfeBSjuyZL2yd9gzLbvyNv2CaerbuLwBLn hiov2DGi1BTfMBaeXatLxBI9gBaerbd9wDYLwzYbItLDharqqtubsr 4rNCHbGeaGqiVu0Je9sqqrpepC0xbbL8F4rqqrFfpeea0xe9Lq=Jc9 vqaqpepm0xbba9pwe9Q8fs0=yqaqpepae9pg0FirpepeKkFr0xfr=x fr=xb9adbaqaaeGaciGaaiaabeqaamaabaabaaGcbaqcLbsacaWG2b Gaeyypa0tcfa4aaabCaOqaaKqzGeGaamOtaKqbaoaaBaaaleaajugW aiaadMgaaSqabaaabaqcLbmacaWGPbGaeyypa0JaaGymaaWcbaqcLb macaaI4aaajugibiabggHiLdGaamODaSWaaSbaaeaajugWaiaadMga aSqabaaaaa@4940@   w= i=1 8 N i w i MathType@MTEF@5@5@+= feaagKart1ev2aaatCvAUfeBSjuyZL2yd9gzLbvyNv2CaerbuLwBLn hiov2DGi1BTfMBaeXatLxBI9gBaerbd9wDYLwzYbItLDharqqtubsr 4rNCHbGeaGqiVu0Je9sqqrpepC0xbbL8F4rqqrFfpeea0xe9Lq=Jc9 vqaqpepm0xbba9pwe9Q8fs0=yqaqpepae9pg0FirpepeKkFr0xfr=x fr=xb9adbaqaaeGaciGaaiaabeqaamaabaabaaGcbaqcLbsacaWG3b Gaeyypa0tcfa4aaabCaOqaaKqzGeGaamOtaSWaaSbaaeaajugWaiaa dMgaaSqabaaabaqcLbmacaWGPbGaeyypa0JaaGymaaWcbaqcLbmaca aI4aaajugibiabggHiLdGaam4DaSWaaSbaaeaajugWaiaadMgaaSqa baaaaa@48B4@   α= i=1 8 N i α i MathType@MTEF@5@5@+= feaagKart1ev2aaatCvAUfeBSjuyZL2yd9gzLbvyNv2CaerbuLwBLn hiov2DGi1BTfMBaeXatLxBI9gBaerbd9wDYLwzYbItLDharqqtubsr 4rNCHbGeaGqiVu0Je9sqqrpepC0xbbL8F4rqqrFfpeea0xe9Lq=Jc9 vqaqpepm0xbba9pwe9Q8fs0=yqaqpepae9pg0FirpepeKkFr0xfr=x fr=xb9adbaqaaeGaciGaaiaabeqaamaabaabaaGcbaqcLbsacqaHXo qycqGH9aqpjuaGdaaeWbGcbaqcLbsacaWGobWcdaWgaaqaaKqzadGa amyAaaWcbeaaaeaajugWaiaadMgacqGH9aqpcaaIXaaaleaajugWai aaiIdaaKqzGeGaeyyeIuoacqaHXoqylmaaBaaabaqcLbmacaWGPbaa leqaaaaa@49FA@   β= i=1 8 N i β i MathType@MTEF@5@5@+= feaagKart1ev2aaatCvAUfeBSjuyZL2yd9gzLbvyNv2CaerbuLwBLn hiov2DGi1BTfMBaeXatLxBI9gBaerbd9wDYLwzYbItLDharqqtubsr 4rNCHbGeaGqiVu0Je9sqqrpepC0xbbL8F4rqqrFfpeea0xe9Lq=Jc9 vqaqpepm0xbba9pwe9Q8fs0=yqaqpepae9pg0FirpepeKkFr0xfr=x fr=xb9adbaqaaeGaciGaaiaabeqaamaabaabaaGcbaqcLbsacqaHYo GycqGH9aqpjuaGdaaeWbGcbaqcLbsacaWGobqcfa4aaSbaaSqaaKqz adGaamyAaaWcbeaaaeaajugWaiaadMgacqGH9aqpcaaIXaaaleaaju gWaiaaiIdaaKqzGeGaeyyeIuoacqaHYoGylmaaBaaabaqcLbmacaWG Pbaaleqaaaaa@4A8C@       (4)

where the shape functions derived from a cubic interpolation polynomial are:

N i = (1+ξ ξ i ) (1+η η i ) (ξ ξ i +η η i 1)/4 MathType@MTEF@5@5@+= feaagKart1ev2aaatCvAUfeBSjuyZL2yd9gzLbvyNv2CaerbuLwBLn hiov2DGi1BTfMBaeXatLxBI9gBaerbd9wDYLwzYbItLDharqqtubsr 4rNCHbGeaGqiVu0Je9sqqrpepC0xbbL8F4rqqrFfpeea0xe9Lq=Jc9 vqaqpepm0xbba9pwe9Q8fs0=yqaqpepae9pg0FirpepeKkFr0xfr=x fr=xb9adbaqaaeGaciGaaiaabeqaamaabaabaaGcbaqcLbsaqaaaaa aaaaWdbiaad6eal8aadaWgaaqaaKqzadWdbiaadMgaaSWdaeqaaKqz GeWdbiabg2da9iaabccapaGaaiika8qacaaIXaGaey4kaSIaeqOVdG NaeqOVdG3cpaWaaSbaaeaajugWa8qacaWGPbaal8aabeaajugibiaa cMcapeGaaeiia8aacaGGOaWdbiaaigdacqGHRaWkcqaH3oaAcqaH3o aAl8aadaWgaaqaaKqzadWdbiaadMgaaSWdaeqaaKqzGeGaaiyka8qa caqGGaWdaiaacIcapeGaeqOVdGNaeqOVdG3cpaWaaSbaaeaajugWa8 qacaWGPbaal8aabeaajugib8qacqGHRaWkcqaH3oaAcqaH3oaAl8aa daWgaaqaaKqzadWdbiaadMgaaSWdaeqaaKqzGeWdbiabgkHiTiaaig dapaGaaiyka8qacaGGVaGaaGinaaaa@637F@         for i=1,2,3,4

N i = (1+ξ ξ i ) (1 η 2 )/2 MathType@MTEF@5@5@+= feaagKart1ev2aaatCvAUfeBSjuyZL2yd9gzLbvyNv2CaerbuLwBLn hiov2DGi1BTfMBaeXatLxBI9gBaerbd9wDYLwzYbItLDharqqtubsr 4rNCHbGeaGqiVu0Je9sqqrpepC0xbbL8F4rqqrFfpeea0xe9Lq=Jc9 vqaqpepm0xbba9pwe9Q8fs0=yqaqpepae9pg0FirpepeKkFr0xfr=x fr=xb9adbaqaaeGaciGaaiaabeqaamaabaabaaGcbaqcLbsaqaaaaa aaaaWdbiaad6eal8aadaWgaaqaaKqzadWdbiaadMgaaSWdaeqaaKqz GeWdbiabg2da9iaabccapaGaaiika8qacaaIXaGaey4kaSIaeqOVdG NaeqOVdG3cpaWaaSbaaeaajugWa8qacaWGPbaal8aabeaajugibiaa cMcapeGaaeiia8aacaGGOaWdbiaaigdacqGHsislcqaH3oaAjuaGpa WaaWbaaSqabeaajugWa8qacaaIYaaaaKqzGeWdaiaacMcapeGaai4l aiaaikdaaaa@504C@    for i=5,7

Ni= (1+η η i ) (1 x 2 )/2 MathType@MTEF@5@5@+= feaagKart1ev2aaatCvAUfeBSjuyZL2yd9gzLbvyNv2CaerbuLwBLn hiov2DGi1BTfMBaeXatLxBI9gBaerbd9wDYLwzYbItLDharqqtubsr 4rNCHbGeaGqiVu0Je9sqqrpepC0xbbL8F4rqqrFfpeea0xe9Lq=Jc9 vqaqpepm0xbba9pwe9Q8fs0=yqaqpepae9pg0FirpepeKkFr0xfr=x fr=xb9adbaqaaeGaciGaaiaabeqaamaabaabaaGcbaqcLbsaqaaaaa aaaaWdbiaad6eacaWGPbGaeyypa0Jaaeiia8aacaGGOaWdbiaaigda cqGHRaWkcqaH3oaAcqaH3oaAl8aadaWgaaqaaKqzadWdbiaadMgaaS WdaeqaaKqzGeGaaiyka8qacaqGGaWdaiaacIcapeGaaGymaiabgkHi TiaadIhal8aadaahaaqabeaajugWa8qacaaIYaaaaKqzGeWdaiaacM capeGaai4laiaaikdaaaa@4CAF@ , for i=6,8 (5)

The generalized displacement vector of an element is expressed in terms of the shape functions and nodal degrees of freedom as:

[ u ]=[ N ]{ d e } MathType@MTEF@5@5@+= feaagKart1ev2aaatCvAUfeBSjuyZL2yd9gzLbvyNv2CaerbuLwBLn hiov2DGi1BTfMBaeXatLxBI9gBaerbd9wDYLwzYbItLDharqqtubsr 4rNCHbGeaGqiVu0Je9sqqrpepC0xbbL8F4rqqrFfpeea0xe9Lq=Jc9 vqaqpepm0xbba9pwe9Q8fs0=yqaqpepae9pg0FirpepeKkFr0xfr=x fr=xb9adbaqaaeGaciGaaiaabeqaamaabaabaaGcbaqcfa4aamWaaO qaaKqzGeGaamyDaaGccaGLBbGaayzxaaqcLbsacqGH9aqpjuaGdaWa daGcbaqcLbsacaWGobaakiaawUfacaGLDbaajuaGdaGadaGcbaqcLb sacaWGKbWcdaWgaaqaaKqzadGaamyzaaWcbeaaaOGaay5Eaiaaw2ha aaaa@4638@ (6)

i.e., { u }={ u v w α β }= i=1 8 [ N i N i N i N i N i ]{ u i v i w i α i β i } MathType@MTEF@5@5@+= feaagKart1ev2aaatCvAUfeBSjuyZL2yd9gzLbvyNv2CaerbuLwBLn hiov2DGi1BTfMBaeXatLxBI9gBaerbd9wDYLwzYbItLDharqqtubsr 4rNCHbGeaGqiVu0Je9sqqrpepC0xbbL8F4rqqrFfpeea0xe9Lq=Jc9 vqaqpepm0xbba9pwe9Q8fs0=yqaqpepae9pg0FirpepeKkFr0xfr=x fr=xb9adbaqaaeGaciGaaiaabeqaamaabaabaaGcbaqcfa4aaiWaaO qaaKqzGeGaamyDaaGccaGL7bGaayzFaaqcLbsacqGH9aqpjuaGdaGa daGcbaqcLbsafaqabeqbbaaaaOqaaKqzGeGaamyDaaGcbaqcLbsaca WG2baakeaajugibiaadEhaaOqaaKqzGeGaeqySdegakeaajugibiab ek7aIbaaaOGaay5Eaiaaw2haaKqzGeGaeyypa0tcfa4aaabCaOqaaK qbaoaadmaakeaajugibuaabeqafuaaaaaakeaajugibiaad6ealmaa BaaabaqcLbmacaWGPbaaleqaaaGcbaaabaaabaaabaaabaaabaqcLb sacaWGobqcfa4aaSbaaSqaaKqzadGaamyAaaWcbeaaaOqaaaqaaaqa aaqaaaqaaaqaaKqzGeGaamOtaSWaaSbaaeaajugWaiaadMgaaSqaba aakeaaaeaaaeaaaeaaaeaaaeaajugibiaad6ealmaaBaaabaqcLbma caWGPbaaleqaaaGcbaaabaaabaaabaaabaaabaqcLbsacaWGobWcda WgaaqaaKqzadGaamyAaaWcbeaaaaaakiaawUfacaGLDbaajuaGdaGa daGcbaqcLbsafaqabeqbbaaaaOqaaKqzGeGaamyDaSWaaSbaaeaaju gWaiaadMgaaSqabaaakeaajugibiaadAhalmaaBaaabaqcLbmacaWG PbaaleqaaaGcbaqcLbsacaWG3bWcdaWgaaqaaKqzadGaamyAaaWcbe aaaOqaaKqzGeGaeqySde2cdaWgaaqaaKqzadGaamyAaaWcbeaaaOqa aKqzGeGaeqOSdi2cdaWgaaqaaKqzadGaamyAaaWcbeaaaaaakiaawU hacaGL9baaaSqaaKqzadGaamyAaiabg2da9iaaigdaaSqaaKqzadGa aGioaaqcLbsacqGHris5aaaa@822C@

The strain-displacement relation is given by

{ ε }=[ B ]{ d e } MathType@MTEF@5@5@+= feaagKart1ev2aaatCvAUfeBSjuyZL2yd9gzLbvyNv2CaerbuLwBLn hiov2DGi1BTfMBaeXatLxBI9gBaerbd9wDYLwzYbItLDharqqtubsr 4rNCHbGeaGqiVu0Je9sqqrpepC0xbbL8F4rqqrFfpeea0xe9Lq=Jc9 vqaqpepm0xbba9pwe9Q8fs0=yqaqpepae9pg0FirpepeKkFr0xfr=x fr=xb9adbaqaaeGaciGaaiaabeqaamaabaabaaGcbaqcfa4aaiWaaO qaaKqzGeGaeqyTdugakiaawUhacaGL9baajugibiabg2da9Kqbaoaa dmaakeaajugibiaadkeaaOGaay5waiaaw2faaKqbaoaacmaakeaaju gibiaadsgalmaaBaaabaqcLbmacaWGLbaaleqaaaGccaGL7bGaayzF aaaaaa@4718@ , (7)

Where [ B ]= i=1 8 [ N i,x 0 0 0 0 0 N i,y N i R y 0 0 N i,y N i,x 0 0 0 0 0 0 N i,x 0 0 0 0 0 N i,y 0 0 0 N i,y N i,x 0 0 N i,x N i 0 0 0 N i,y 0 N i ] MathType@MTEF@5@5@+= feaagKart1ev2aaatCvAUfeBSjuyZL2yd9gzLbvyNv2CaerbuLwBLn hiov2DGi1BTfMBaeXatLxBI9gBaerbd9wDYLwzYbItLDharqqtubsr 4rNCHbGeaGqiVCI8FfYJH8YrFfeuY=Hhbbf9v8qqaqFr0xc9pk0xbb a9q8WqFfeaY=biLkVcLq=JHqpepeea0=as0Fb9pgeaYRXxe9vr0=vr 0=vqpWqaaeaabiGaciaacaqabeaadaqaaqaaaOqaaKqbaoaadmaake aajugibiaadkeaaOGaay5waiaaw2faaKqzGeGaeyypa0tcfa4aaabC aOqaaKqbaoaadmaakeaajugibuaabeqaiuaaaaaaaOqaaKqzGeGaam OtaSWaaSbaaeaajugWaiaadMgacaGGSaGaamiEaaWcbeaaaOqaaKqz GeGaaGimaaGcbaqcLbsacaaIWaaakeaajugibiaaicdaaOqaaKqzGe GaaGimaaGcbaqcLbsacaaIWaaakeaajugibiaad6eajuaGdaWgaaWc baqcLbmacaWGPbGaaiilaiaadMhaaSqabaaakeaajugibiabgkHiTK qbaoaalaaakeaajugibiaad6ealmaaBaaabaqcLbmacaWGPbaaleqa aaGcbaqcLbsacaWGsbqcfa4aaSbaaSqaaKqzadGaamyEaaWcbeaaaa aakeaajugibiaaicdaaOqaaKqzGeGaaGimaaGcbaqcLbsacaWGobqc fa4aaSbaaSqaaKqzadGaamyAaiaacYcacaWG5baaleqaaaGcbaqcLb sacaWGobWcdaWgaaqaaKqzadGaamyAaiaacYcacaWG4baaleqaaaGc baqcLbsacaaIWaaakeaajugibiaaicdaaOqaaKqzGeGaaGimaaGcba qcLbsacaaIWaaakeaajugibiaaicdaaOqaaKqzGeGaaGimaaGcbaqc LbsacaWGobWcdaWgaaqaaKqzadGaamyAaiaacYcacaWG4baaleqaaa GcbaqcLbsacaaIWaaakeaajugibiaaicdaaOqaaKqzGeGaaGimaaGc baqcLbsacaaIWaaakeaajugibiaaicdaaOqaaKqzGeGaamOtaKqbao aaBaaaleaajugWaiaadMgacaGGSaGaamyEaaWcbeaaaOqaaKqzGeGa aGimaaGcbaqcLbsacaaIWaaakeaajugibiaaicdaaOqaaKqzGeGaam OtaKqbaoaaBaaaleaajugWaiaadMgacaGGSaGaamyEaaWcbeaaaOqa aKqzGeGaamOtaKqbaoaaBaaaleaajugWaiaadMgacaGGSaGaamiEaa WcbeaaaOqaaKqzGeGaaGimaaGcbaqcLbsacaaIWaaakeaajugibiaa d6ealmaaBaaabaqcLbmacaWGPbGaaiilaiaadIhaaSqabaaakeaaju gibiaad6eajuaGdaWgaaWcbaqcLbmacaWGPbaaleqaaaGcbaqcLbsa caaIWaaakeaajugibiaaicdaaOqaaKqzGeGaaGimaaGcbaqcLbsaca WGobWcdaWgaaqaaKqzadGaamyAaiaacYcacaWG5baaleqaaaGcbaqc LbsacaaIWaaakeaajugibiaad6ealmaaBaaabaqcLbmacaWGPbaale qaaaaaaOGaay5waiaaw2faaaWcbaqcLbmacaWGPbGaeyypa0JaaGym aaWcbaqcLbmacaaI4aaajugibiabggHiLdaaaa@B712@ (8)

The element stiffness matrix is

[ K e ]= [ B ] T [ E ][ B ]dxdy MathType@MTEF@5@5@+= feaagKart1ev2aaatCvAUfeBSjuyZL2yd9gzLbvyNv2CaerbuLwBLn hiov2DGi1BTfMBaeXatLxBI9gBaerbd9wDYLwzYbItLDharqqtubsr 4rNCHbGeaGqiVu0Je9sqqrpepC0xbbL8F4rqqrFfpeea0xe9Lq=Jc9 vqaqpepm0xbba9pwe9Q8fs0=yqaqpepae9pg0FirpepeKkFr0xfr=x fr=xb9adbaqaaeGaciGaaiaabeqaamaabaabaaGcbaqcfa4aamWaaO qaaKqzGeGaam4saSWaaSbaaeaajugWaiaadwgaaSqabaaakiaawUfa caGLDbaajugibiabg2da9KqbaoaapiaakeaajuaGdaWadaGcbaqcLb sacaWGcbaakiaawUfacaGLDbaaaSqabeqajugibiabgUIiYlabgUIi Ydqcfa4aaWbaaSqabeaajugWaiaadsfaaaqcfa4aamWaaOqaaKqzGe GaamyraaGccaGLBbGaayzxaaqcfa4aamWaaOqaaKqzGeGaamOqaaGc caGLBbGaayzxaaqcLbsacaWGKbGaamiEaiaadsgacaWG5baaaa@558D@ (9)

The element mass matrix is obtained from the integral

[ M e ]= [ N ] T [ P ][ N ]dxdy MathType@MTEF@5@5@+= feaagKart1ev2aaatCvAUfeBSjuyZL2yd9gzLbvyNv2CaerbuLwBLn hiov2DGi1BTfMBaeXatLxBI9gBaerbd9wDYLwzYbItLDharqqtubsr 4rNCHbGeaGqiVu0Je9sqqrpepC0xbbL8F4rqqrFfpeea0xe9Lq=Jc9 vqaqpepm0xbba9pwe9Q8fs0=yqaqpepae9pg0FirpepeKkFr0xfr=x fr=xb9adbaqaaeGaciGaaiaabeqaamaabaabaaGcbaqcfa4aamWaaO qaaKqzGeGaamytaSWaaSbaaeaajugWaiaadwgaaSqabaaakiaawUfa caGLDbaajugibiabg2da9KqbaoaapiaakeaajuaGdaWadaGcbaqcLb sacaWGobaakiaawUfacaGLDbaaaSqabeqajugibiabgUIiYlabgUIi Ydqcfa4aaWbaaSqabeaajugWaiaadsfaaaqcfa4aamWaaOqaaKqzGe GaamiuaaGccaGLBbGaayzxaaqcfa4aamWaaOqaaKqzGeGaamOtaaGc caGLBbGaayzxaaqcLbsacaWGKbGaamiEaiaadsgacaWG5baaaa@55B2@ , (10)

where,

[ N ]= i=1 8 [ N i 0 0 0 0 0 N i 0 0 0 0 0 N i 0 0 0 0 0 N i 0 0 0 0 0 N i ] MathType@MTEF@5@5@+= feaagKart1ev2aaatCvAUfeBSjuyZL2yd9gzLbvyNv2CaerbuLwBLn hiov2DGi1BTfMBaeXatLxBI9gBaerbd9wDYLwzYbItLDharqqtubsr 4rNCHbGeaGqiVu0Je9sqqrpepC0xbbL8F4rqqrFfpeea0xe9Lq=Jc9 vqaqpepm0xbba9pwe9Q8fs0=yqaqpepae9pg0FirpepeKkFr0xfr=x fr=xb9adbaqaaeGaciGaaiaabeqaamaabaabaaGcbaqcfa4aamWaaO qaaKqzGeGaamOtaaGccaGLBbGaayzxaaqcLbsacqGH9aqpjuaGdaae WbGcbaqcfa4aamWaaOqaaKqzGeqbaeqabuqbaaaaaOqaaKqzGeGaam OtaSWaaSbaaeaajugWaiaadMgaaSqabaaakeaajugibiaaicdaaOqa aKqzGeGaaGimaaGcbaqcLbsacaaIWaaakeaajugibiaaicdaaOqaaK qzGeGaaGimaaGcbaqcLbsacaWGobWcdaWgaaqaaKqzadGaamyAaaWc beaaaOqaaKqzGeGaaGimaaGcbaqcLbsacaaIWaaakeaajugibiaaic daaOqaaKqzGeGaaGimaaGcbaqcLbsacaaIWaaakeaajugibiaad6ea lmaaBaaabaqcLbmacaWGPbaaleqaaaGcbaqcLbsacaaIWaaakeaaju gibiaaicdaaOqaaKqzGeGaaGimaaGcbaqcLbsacaaIWaaakeaajugi biaaicdaaOqaaKqzGeGaamOtaSWaaSbaaeaajugWaiaadMgaaSqaba aakeaajugibiaaicdaaOqaaKqzGeGaaGimaaGcbaqcLbsacaaIWaaa keaajugibiaaicdaaOqaaKqzGeGaaGimaaGcbaqcLbsacaWGobqcfa 4aaSbaaSqaaKqzadGaamyAaaWcbeaaaaaakiaawUfacaGLDbaaaSqa aKqzadGaamyAaiabg2da9iaaigdaaSqaaKqzadGaaGioaaqcLbsacq GHris5aaaa@75C8@ ,    [ P ]= i=1 8 [ P 0 0 0 0 0 P 0 0 0 0 0 P 0 0 0 0 0 I 0 0 0 0 0 I ] MathType@MTEF@5@5@+= feaagKart1ev2aaatCvAUfeBSjuyZL2yd9gzLbvyNv2CaerbuLwBLn hiov2DGi1BTfMBaeXatLxBI9gBaerbd9wDYLwzYbItLDharqqtubsr 4rNCHbGeaGqiVu0Je9sqqrpepC0xbbL8F4rqqrFfpeea0xe9Lq=Jc9 vqaqpepm0xbba9pwe9Q8fs0=yqaqpepae9pg0FirpepeKkFr0xfr=x fr=xb9adbaqaaeGaciGaaiaabeqaamaabaabaaGcbaqcfa4aamWaaO qaaKqzGeGaamiuaaGccaGLBbGaayzxaaqcLbsacqGH9aqpjuaGdaae WbGcbaqcfa4aamWaaOqaaKqzGeqbaeqabuqbaaaaaOqaaKqzGeGaam iuaaGcbaqcLbsacaaIWaaakeaajugibiaaicdaaOqaaKqzGeGaaGim aaGcbaqcLbsacaaIWaaakeaajugibiaaicdaaOqaaKqzGeGaamiuaa GcbaqcLbsacaaIWaaakeaajugibiaaicdaaOqaaKqzGeGaaGimaaGc baqcLbsacaaIWaaakeaajugibiaaicdaaOqaaKqzGeGaamiuaaGcba qcLbsacaaIWaaakeaajugibiaaicdaaOqaaKqzGeGaaGimaaGcbaqc LbsacaaIWaaakeaajugibiaaicdaaOqaaKqzGeGaamysaaGcbaqcLb sacaaIWaaakeaajugibiaaicdaaOqaaKqzGeGaaGimaaGcbaqcLbsa caaIWaaakeaajugibiaaicdaaOqaaKqzGeGaamysaaaaaOGaay5wai aaw2faaaWcbaqcLbmacaWGPbGaeyypa0tcLbsacaaIXaaaleaajugW aiaaiIdaaKqzGeGaeyyeIuoaaaa@6A28@ ,

in which

P= k=1 np z k1 z k ρdz MathType@MTEF@5@5@+= feaagKart1ev2aaatCvAUfeBSjuyZL2yd9gzLbvyNv2CaerbuLwBLn hiov2DGi1BTfMBaeXatLxBI9gBaerbd9wDYLwzYbItLDharqqtubsr 4rNCHbGeaGqiVu0Je9sqqrpepC0xbbL8F4rqqrFfpeea0xe9Lq=Jc9 vqaqpepm0xbba9pwe9Q8fs0=yqaqpepae9pg0FirpepeKkFr0xfr=x fr=xb9adbaqaaeGaciGaaiaabeqaamaabaabaaGcbaqcLbsacaWGqb Gaeyypa0tcfa4aaabCaOqaaKqbaoaapehakeaajugibiabeg8aYjaa dsgacaWG6baaleaajugibiaadQhajuaGdaWgaaadbaqcLbmacaWGRb GaeyOeI0IaaGymaaadbeaaaSqaaKqzadGaamOEaSWaaSbaaWqaaKqz adGaam4AaaadbeaaaKqzGeGaey4kIipaaSqaaKqzadGaam4Aaiabg2 da9iaaigdaaSqaaKqzadGaamOBaiaadchaaKqzGeGaeyyeIuoaaaa@552B@                      and         I= k=1 np z k1 z k zρdz MathType@MTEF@5@5@+= feaagKart1ev2aaatCvAUfeBSjuyZL2yd9gzLbvyNv2CaerbuLwBLn hiov2DGi1BTfMBaeXatLxBI9gBaerbd9wDYLwzYbItLDharqqtubsr 4rNCHbGeaGqiVu0Je9sqqrpepC0xbbL8F4rqqrFfpeea0xe9Lq=Jc9 vqaqpepm0xbba9pwe9Q8fs0=yqaqpepae9pg0FirpepeKkFr0xfr=x fr=xb9adbaqaaeGaciGaaiaabeqaamaabaabaaGcbaqcLbsacaWGjb Gaeyypa0tcfa4aaabCaOqaaKqbaoaapehakeaajugibiaadQhacqaH bpGCcaWGKbGaamOEaaWcbaqcLbsacaWG6bWcdaWgaaadbaqcLbmaca WGRbGaeyOeI0IaaGymaaadbeaaaSqaaKqzadGaamOEaSWaaSbaaWqa aKqzadGaam4AaaadbeaaaKqzGeGaey4kIipaaSqaaKqzadGaam4Aai abg2da9iaaigdaaSqaaKqzadGaamOBaiaadchaaKqzGeGaeyyeIuoa aaa@55A0@ (11)

Three noded curved isoperimetric beam elements are used to model the stiffeners, which are taken to run only along the boundaries of the shell elements. In the stiffener element, each node has four degrees of freedom i.e. usx, wsx, asxand bsx for X-stiffener and vsy, wsy, asy and bsy for Y-stiffener. The generalized force-displacement relation of stiffeners can be expressed as:

X-stiffener: { F sx }=[ D sx ]{ ε sx }=[ D sx ][ B sx ]{ δ sxi } MathType@MTEF@5@5@+= feaagKart1ev2aaatCvAUfeBSjuyZL2yd9gzLbvyNv2CaerbuLwBLn hiov2DGi1BTfMBaeXatLxBI9gBaerbd9wDYLwzYbItLDharqqtubsr 4rNCHbGeaGqiVu0Je9sqqrpepC0xbbL8F4rqqrFfpeea0xe9Lq=Jc9 vqaqpepm0xbba9pwe9Q8fs0=yqaqpepae9pg0FirpepeKkFr0xfr=x fr=xb9adbaqaaeGaciGaaiaabeqaamaabaabaaGcbaqcfa4aaiWaaO qaaKqzGeGaamOraSWaaSbaaeaajugWaiaadohacaWG4baaleqaaaGc caGL7bGaayzFaaqcLbsacqGH9aqpjuaGdaWadaGcbaqcLbsacaWGeb WcdaWgaaqaaKqzadGaam4CaiaadIhaaSqabaaakiaawUfacaGLDbaa juaGdaGadaGcbaqcLbsacqaH1oqzlmaaBaaabaqcLbmacaWGZbGaam iEaaWcbeaaaOGaay5Eaiaaw2haaKqzGeGaeyypa0tcfa4aamWaaOqa aKqzGeGaamiraKqbaoaaBaaaleaajugWaiaadohacaWG4baaleqaaa GccaGLBbGaayzxaaqcfa4aamWaaOqaaKqzGeGaamOqaSWaaSbaaeaa jugWaiaadohacaWG4baaleqaaaGccaGLBbGaayzxaaqcfa4aaiWaaO qaaKqzGeGaeqiTdqwcfa4aaSbaaSqaaKqzadGaam4CaiaadIhacaWG PbaaleqaaaGccaGL7bGaayzFaaaaaa@6945@ ;

Y-stiffener: { F sy }=[ D sy ]{ ε sy }=[ D sy ][ B sy ]{ δ syi } MathType@MTEF@5@5@+= feaagKart1ev2aaatCvAUfeBSjuyZL2yd9gzLbvyNv2CaerbuLwBLn hiov2DGi1BTfMBaeXatLxBI9gBaerbd9wDYLwzYbItLDharqqtubsr 4rNCHbGeaGqiVu0Je9sqqrpepC0xbbL8F4rqqrFfpeea0xe9Lq=Jc9 vqaqpepm0xbba9pwe9Q8fs0=yqaqpepae9pg0FirpepeKkFr0xfr=x fr=xb9adbaqaaeGaciGaaiaabeqaamaabaabaaGcbaqcfa4aaiWaaO qaaKqzGeGaamOraSWaaSbaaeaajugWaiaadohacaWG5baaleqaaaGc caGL7bGaayzFaaqcLbsacqGH9aqpjuaGdaWadaGcbaqcLbsacaWGeb WcdaWgaaqaaKqzadGaam4CaiaadMhaaSqabaaakiaawUfacaGLDbaa lmaacmaakeaajugWaiabew7aLTWaaSbaaeaajugWaiaadohacaWG5b aaleqaaaGccaGL7bGaayzFaaqcLbsacqGH9aqpjuaGdaWadaGcbaqc LbsacaWGebWcdaWgaaqaaKqzadGaam4CaiaadMhaaSqabaaakiaawU facaGLDbaajuaGdaWadaGcbaqcLbsacaWGcbWcdaWgaaqaaKqzadGa am4CaiaadMhaaSqabaaakiaawUfacaGLDbaajuaGdaGadaGcbaqcLb sacqaH0oazlmaaBaaabaqcLbmacaWGZbGaamyEaiaadMgaaSqabaaa kiaawUhacaGL9baaaaa@684B@ (12)

where,    { F sx }= [ N sxx M sxx T sxx Q sxxz ] T MathType@MTEF@5@5@+= feaagKart1ev2aaatCvAUfeBSjuyZL2yd9gzLbvyNv2CaerbuLwBLn hiov2DGi1BTfMBaeXatLxBI9gBaerbd9wDYLwzYbItLDharqqtubsr 4rNCHbGeaGqiVu0Je9sqqrpepC0xbbL8F4rqqrFfpeea0xe9Lq=Jc9 vqaqpepm0xbba9pwe9Q8fs0=yqaqpepae9pg0FirpepeKkFr0xfr=x fr=xb9adbaqaaeGaciGaaiaabeqaamaabaabaaGcbaqcfa4aaiWaaO qaaKqzGeGaamOraKqbaoaaBaaaleaajugWaiaadohacaWG4baaleqa aaGccaGL7bGaayzFaaqcLbsacqGH9aqpjuaGdaWadaGcbaqcLbsafa qabeqaeaaaaOqaaKqzGeGaamOtaKqbaoaaBaaaleaajugWaiaadoha caWG4bGaamiEaaWcbeaaaOqaaKqzGeGaamytaKqbaoaaBaaaleaaju gWaiaadohacaWG4bGaamiEaaWcbeaaaOqaaKqzGeGaamivaSWaaSba aeaajugWaiaadohacaWG4bGaamiEaaWcbeaaaOqaaKqzGeGaamyuaK qbaoaaBaaaleaajugWaiaadohacaWG4bGaamiEaiaadQhaaSqabaaa aaGccaGLBbGaayzxaaWcdaahaaqabeaajugWaiaadsfaaaaaaa@5EC5@ ;   { ε sx }= [ u sx.x α sx.x β sx.x ( α sx + w sx.x ) ] T MathType@MTEF@5@5@+= feaagKart1ev2aaatCvAUfeBSjuyZL2yd9gzLbvyNv2CaerbuLwBLn hiov2DGi1BTfMBaeXatLxBI9gBaerbd9wDYLwzYbItLDharqqtubsr 4rNCHbGeaGqiVu0Je9sqqrpepC0xbbL8F4rqqrFfpeea0xe9Lq=Jc9 vqaqpepm0xbba9pwe9Q8fs0=yqaqpepae9pg0FirpepeKkFr0xfr=x fr=xb9adbaqaaeGaciGaaiaabeqaamaabaabaaGcbaqcfa4aaiWaaO qaaKqzGeGaeqyTduwcfa4aaSbaaSqaaKqzadGaam4CaiaadIhaaSqa baaakiaawUhacaGL9baajugibiabg2da9Kqbaoaadmaakeaajugibu aabeqabqaaaaGcbaqcLbsacaWG1bqcfa4aaSbaaSqaaKqzadGaam4C aiaadIhacaGGUaGaamiEaaWcbeaaaOqaaKqzGeGaeqySdewcfa4aaS baaSqaaKqzadGaam4CaiaadIhacaGGUaGaamiEaaWcbeaaaOqaaKqz GeGaeqOSdi2cdaWgaaqaaKqzadGaam4CaiaadIhacaGGUaGaamiEaa WcbeaaaOqaaKqbaoaabmaakeaajugibiabeg7aHTWaaSbaaeaajugW aiaadohacaWG4baaleqaaKqzGeGaey4kaSIaam4DaKqbaoaaBaaale aajugWaiaadohacaWG4bGaaiOlaiaadIhaaSqabaaakiaawIcacaGL PaaaaaaacaGLBbGaayzxaaqcfa4aaWbaaSqabeaajugWaiaadsfaaa aaaa@6C65@

and         { F sy }= [ N syy M syy T syy Q syyz ] T MathType@MTEF@5@5@+= feaagKart1ev2aaatCvAUfeBSjuyZL2yd9gzLbvyNv2CaerbuLwBLn hiov2DGi1BTfMBaeXatLxBI9gBaerbd9wDYLwzYbItLDharqqtubsr 4rNCHbGeaGqiVu0Je9sqqrpepC0xbbL8F4rqqrFfpeea0xe9Lq=Jc9 vqaqpepm0xbba9pwe9Q8fs0=yqaqpepae9pg0FirpepeKkFr0xfr=x fr=xb9adbaqaaeGaciGaaiaabeqaamaabaabaaGcbaqcfa4aaiWaaO qaaKqzGeGaamOraKqbaoaaBaaaleaajugWaiaadohacaWG5baaleqa aaGccaGL7bGaayzFaaqcLbsacqGH9aqpjuaGdaWadaGcbaqcLbsafa qabeqaeaaaaOqaaKqzGeGaamOtaKqbaoaaBaaaleaajugWaiaadoha caWG5bGaamyEaaWcbeaaaOqaaKqzGeGaamytaKqbaoaaBaaaleaaju gWaiaadohacaWG5bGaamyEaaWcbeaaaOqaaKqzGeGaamivaSWaaSba aeaajugWaiaadohacaWG5bGaamyEaaWcbeaaaOqaaKqzGeGaamyuaK qbaoaaBaaaleaajugWaiaadohacaWG5bGaamyEaiaadQhaaSqabaaa aaGccaGLBbGaayzxaaWcdaahaaqabeaajugWaiaadsfaaaaaaa@5ECE@ ; { ε sy }= [ v sy.y β sy.y α sy.y ( β sy + w sy.y ) ] T MathType@MTEF@5@5@+= feaagKart1ev2aaatCvAUfeBSjuyZL2yd9gzLbvyNv2CaerbuLwBLn hiov2DGi1BTfMBaeXatLxBI9gBaerbd9wDYLwzYbItLDharqqtubsr 4rNCHbGeaGqiVu0Je9sqqrpepC0xbbL8F4rqqrFfpeea0xe9Lq=Jc9 vqaqpepm0xbba9pwe9Q8fs0=yqaqpepae9pg0FirpepeKkFr0xfr=x fr=xb9adbaqaaeGaciGaaiaabeqaamaabaabaaGcbaqcfa4aaiWaaO qaaKqzGeGaeqyTduwcfa4aaSbaaSqaaKqzadGaam4CaiaadMhaaSqa baaakiaawUhacaGL9baajugibiabg2da9Kqbaoaadmaakeaajugibu aabeqabqaaaaGcbaqcLbsacaWG2bqcfa4aaSbaaSqaaKqzadGaam4C aiaadMhacaGGUaGaamyEaaWcbeaaaOqaaKqzGeGaeqOSdiwcfa4aaS baaSqaaKqzadGaam4CaiaadMhacaGGUaGaamyEaaWcbeaaaOqaaKqz GeGaeqySde2cdaWgaaqaaKqzadGaam4CaiaadMhacaGGUaGaamyEaa WcbeaaaOqaaKqbaoaabmaakeaajugibiabek7aITWaaSbaaeaajugW aiaadohacaWG5baaleqaaKqzGeGaey4kaSIaam4DaKqbaoaaBaaale aajugWaiaadohacaWG5bGaaiOlaiaadMhaaSqabaaakiaawIcacaGL PaaaaaaacaGLBbGaayzxaaWcdaahaaqabeaajugWaiaadsfaaaaaaa@6BE4@

The generalized displacements of the y-stiffener and the shell are related by the transformation matrix { δ syi }=[ T ]{ δ } MathType@MTEF@5@5@+= feaagKart1ev2aaatCvAUfeBSjuyZL2yd9gzLbvyNv2CaerbuLwBLn hiov2DGi1BTfMBaeXatLxBI9gBaerbd9wDYLwzYbItLDharqqtubsr 4rNCHbGeaGqiVCI8FfYJH8YrFfeuY=Hhbbf9v8qqaqFr0xc9pk0xbb a9q8WqFfeaY=biLkVcLq=JHqpepeea0=as0Fb9pgeaYRXxe9vr0=vr 0=vqpWqaaeaabiGaciaacaqabeaadaqaaqaaaOqaaKqbaoaacmaake aajugibiabes7aKLqbaoaaBaaaleaajugWaiaadohacaWG5bGaamyA aaWcbeaaaOGaay5Eaiaaw2haaKqzGeGaeyypa0tcfa4aamWaaOqaaK qzGeGaamivaaGccaGLBbGaayzxaaqcfa4aaiWaaOqaaKqzGeGaeqiT dqgakiaawUhacaGL9baaaaa@4A61@ where

[ T ]=[ 1+ e R y symmetric 0 1 0 0 1 0 0 0 1 ] MathType@MTEF@5@5@+= feaagKart1ev2aqatCvAUfeBSjuyZL2yd9gzLbvyNv2CaerbuLwBLn hiov2DGi1BTfMBaeXatLxBI9gBaerbd9wDYLwzYbItLDharqqtubsr 4rNCHbGeaGqiVCI8FfYJH8YrFfeuY=Hhbbf9v8qqaqFr0xc9pk0xbb a9q8WqFfeaY=biLkVcLq=JHqpepeea0=as0Fb9pgeaYRXxe9vr0=vr 0=vqpWqaaeaabiGaciaacaqabeaadaqaaqaaaOqaaKqbaoaadmaake aajugibiaadsfaaOGaay5waiaaw2faaKqzGeGaeyypa0tcfa4aamWa aOqaaKqzGeqbaeqabqabaaaaaOqaaKqzGeGaaGymaiabgUcaRKqbao aalaaakeaajugibiaadwgaaOqaaKqzGeGaamOuaKqbaoaaBaaaleaa jugWaiaadMhaaSqabaaaaaGcbaqcLbsacaWGZbGaamyEaiaad2gaca WGTbGaamyzaiaadshacaWGYbGaamyAaiaadogaaOqaaaqaaaqaaKqz GeGaaGimaaGcbaqcLbsacaaIXaaakeaaaeaaaeaajugibiaaicdaaO qaaKqzGeGaaGimaaGcbaqcLbsacaaIXaaakeaaaeaajugibiaaicda aOqaaKqzGeGaaGimaaGcbaqcLbsacaaIWaaakeaajugibiaaigdaaa aakiaawUfacaGLDbaaaaa@5C89@

This transformation is required due to curvature of y-stiffener and { δ } MathType@MTEF@5@5@+= feaagKart1ev2aqatCvAUfeBSjuyZL2yd9gzLbvyNv2CaerbuLwBLn hiov2DGi1BTfMBaeXatLxBI9gBaerbd9wDYLwzYbItLDharqqtubsr 4rNCHbGeaGqiVCI8FfYJH8YrFfeuY=Hhbbf9v8qqaqFr0xc9pk0xbb a9q8WqFfeaY=biLkVcLq=JHqpepeea0=as0Fb9pgeaYRXxe9vr0=vr 0=vqpWqaaeaabiGaciaacaqabeaadaqaaqaaaOqaaKqbaoaacmaake aajugibiabes7aKbGccaGL7bGaayzFaaaaaa@3AF3@  is the appropriate portion of the displacement vector of the shell excluding the displacement component along the x-axis.
Elasticity matrices are as follows:

[ D sx ]=[ A 11 b sx B / 11 b sx B / 12 b sx 0 B / 11 b sx D / 11 b sx D / 12 b sx 0 B / 12 b sx D / 12 b sx 1 6 ( Q 44 + Q 66 ) d sx b sx 3 0 0 0 0 b sx S 11 ] MathType@MTEF@5@5@+= feaagKart1ev2aaatCvAUfeBSjuyZL2yd9gzLbvyNv2CaerbuLwBLn hiov2DGi1BTfMBaeXatLxBI9gBaerbd9wDYLwzYbItLDharqqtubsr 4rNCHbGeaGqiVu0Je9sqqrpepC0xbbL8F4rqqrFfpeea0xe9Lq=Jc9 vqaqpepm0xbba9pwe9Q8fs0=yqaqpepae9pg0FirpepeKkFr0xfr=x fr=xb9adbaqaaeGaciGaaiaabeqaamaabaabaaGcbaqcfa4aamWaaO qaaKqzGeGaamiraSWaaSbaaeaajugWaiaadohacaWG4baaleqaaaGc caGLBbGaayzxaaqcLbsacqGH9aqpjuaGdaWadaGcbaqcLbsafaqabe abeaaaaaGcbaqcLbsacaWGbbqcfa4aaSbaaSqaaKqzadGaaGymaiaa igdaaSqabaqcLbsacaWGIbqcfa4aaSbaaSqaaKqzadGaam4CaiaadI haaSqabaaakeaajugibiaadkeajuaGdaahaaWcbeqaaKqzGeGaai4l aaaajuaGdaWgaaWcbaqcLbmacaaIXaGaaGymaaWcbeaajugibiaadk gajuaGdaWgaaWcbaqcLbmacaWGZbGaamiEaaWcbeaaaOqaaKqzGeGa amOqaKqbaoaaCaaaleqabaqcLbsacaGGVaaaaKqbaoaaBaaaleaaju gWaiaaigdacaaIYaaaleqaaKqzGeGaamOyaSWaaSbaaeaajugWaiaa dohacaWG4baaleqaaaGcbaqcLbsacaaIWaaakeaajugibiaadkeaju aGdaahaaWcbeqaaKqzGeGaai4laaaalmaaBaaabaqcLbmacaaIXaGa aGymaaWcbeaajugibiaadkgajuaGdaWgaaWcbaqcLbmacaWGZbGaam iEaaWcbeaaaOqaaKqzGeGaamiraKqbaoaaCaaaleqabaqcLbsacaGG VaaaaSWaaSbaaeaajugWaiaaigdacaaIXaaaleqaaKqzGeGaamOyaK qbaoaaBaaaleaajugWaiaadohacaWG4baaleqaaaGcbaqcLbsacaWG ebqcfa4aaWbaaSqabeaajugibiaac+caaaWcdaWgaaqaaKqzadGaaG ymaiaaikdaaSqabaqcLbsacaWGIbqcfa4aaSbaaSqaaKqzadGaam4C aiaadIhaaSqabaaakeaajugibiaaicdaaOqaaKqzGeGaamOqaKqbao aaCaaaleqabaqcLbsacaGGVaaaaKqbaoaaBaaaleaajugWaiaaigda caaIYaaaleqaaKqzGeGaamOyaKqbaoaaBaaaleaajugWaiaadohaca WG4baaleqaaaGcbaqcLbsacaWGebqcfa4aaWbaaSqabeaajugibiaa c+caaaqcfa4aaSbaaSqaaKqzadGaaGymaiaaikdaaSqabaqcLbsaca WGIbqcfa4aaSbaaSqaaKqzadGaam4CaiaadIhaaSqabaaakeaajuaG daWcaaGcbaqcLbsacaaIXaaakeaajugibiaaiAdaaaqcfa4aaeWaaO qaaKqzGeGaamyuaKqbaoaaBaaaleaajugWaiaaisdacaaI0aaaleqa aKqzGeGaey4kaSIaamyuaKqbaoaaBaaaleaajugWaiaaiAdacaaI2a aaleqaaaGccaGLOaGaayzkaaqcLbsacaWGKbqcfa4aaSbaaSqaaKqz adGaam4CaiaadIhaaSqabaqcLbsacaWGIbWcdaqhaaqaaKqzadGaam 4CaiaadIhaaSqaaKqzadGaaG4maaaaaOqaaKqzGeGaaGimaaGcbaqc LbsacaaIWaaakeaajugibiaaicdaaOqaaKqzGeGaaGimaaGcbaqcLb sacaWGIbqcfa4aaSbaaSqaaKqzadGaam4CaiaadIhaaSqabaqcLbsa caWGtbWcdaWgaaqaaKqzadGaaGymaiaaigdaaSqabaaaaaGccaGLBb Gaayzxaaaaaa@CCCE@

[ D sy ]=[ A 22 b sy B / 22 b sy B / 12 b sy 0 B / 22 b sy 1 6 ( Q 44 + Q 66 ) b sy D / 12 b sy 0 B / 12 b sy D / 12 b sy D / 11 d sy b sy 3 0 0 0 0 b sy S 22 ] MathType@MTEF@5@5@+= feaagKart1ev2aaatCvAUfeBSjuyZL2yd9gzLbvyNv2CaerbuLwBLn hiov2DGi1BTfMBaeXatLxBI9gBaerbd9wDYLwzYbItLDharqqtubsr 4rNCHbGeaGqiVu0Je9sqqrpepC0xbbL8F4rqqrFfpeea0xe9Lq=Jc9 vqaqpepm0xbba9pwe9Q8fs0=yqaqpepae9pg0FirpepeKkFr0xfr=x fr=xb9adbaqaaeGaciGaaiaabeqaamaabaabaaGcbaqcfa4aamWaaO qaaKqzGeGaamiraSWaaSbaaeaajugWaiaadohacaWG5baaleqaaaGc caGLBbGaayzxaaqcLbsacqGH9aqpjuaGdaWadaGcbaqcLbsafaqabe abeaaaaaGcbaqcLbsacaWGbbWcdaWgaaqaaKqzadGaaGOmaiaaikda aSqabaqcLbsacaWGIbWcdaWgaaqaaKqzadGaam4CaiaadMhaaSqaba aakeaajugibiaadkeajuaGdaahaaWcbeqaaKqzGeGaai4laaaalmaa BaaabaqcLbmacaaIYaGaaGOmaaWcbeaajugibiaadkgalmaaBaaaba qcLbmacaWGZbGaamyEaaWcbeaaaOqaaKqzGeGaamOqaKqbaoaaCaaa leqabaqcLbsacaGGVaaaaSWaaSbaaeaajugWaiaaigdacaaIYaaale qaaKqzGeGaamOyaKqbaoaaBaaaleaajugWaiaadohacaWG5baaleqa aaGcbaqcLbsacaaIWaaakeaajugibiaadkeajuaGdaahaaWcbeqaaK qzGeGaai4laaaajuaGdaWgaaWcbaqcLbmacaaIYaGaaGOmaaWcbeaa jugibiaadkgalmaaBaaabaqcLbmacaWGZbGaamyEaaWcbeaaaOqaaK qbaoaalaaakeaajugibiaaigdaaOqaaKqzGeGaaGOnaaaacaGGOaGa amyuaSWaaSbaaeaajugWaiaaisdacaaI0aaaleqaaKqzGeGaey4kaS IaamyuaSWaaSbaaeaajugWaiaaiAdacaaI2aaaleqaaKqzGeGaaiyk aiaadkgajuaGdaWgaaWcbaqcLbmacaWGZbGaamyEaaWcbeaaaOqaaK qzGeGaamiraKqbaoaaCaaaleqabaqcLbsacaGGVaaaaSWaaSbaaeaa jugWaiaaigdacaaIYaaaleqaaKqzGeGaamOyaSWaaSbaaeaajugWai aadohacaWG5baaleqaaaGcbaqcLbsacaaIWaaakeaajugibiaadkea juaGdaahaaWcbeqaaKqzGeGaai4laaaalmaaBaaabaqcLbmacaaIXa GaaGOmaaWcbeaajugibiaadkgajuaGdaWgaaWcbaqcLbsacaWGZbGa amyEaaWcbeaaaOqaaKqzGeGaamiraKqbaoaaCaaaleqabaqcLbsaca GGVaaaaSWaaSbaaeaajugWaiaaigdacaaIYaaaleqaaKqzGeGaamOy aKqbaoaaBaaaleaajugWaiaadohacaWG5baaleqaaaGcbaqcLbsaca WGebqcfa4aaWbaaSqabeaajugibiaac+caaaWcdaWgaaqaaKqzadGa aGymaiaaigdaaSqabaqcLbsacaWGKbWcdaWgaaqaaKqzadGaam4Cai aadMhaaSqabaqcLbsacaWGIbWcdaqhaaqaaKqzadGaam4CaiaadMha aSqaaKqzadGaaG4maaaaaOqaaKqzGeGaaGimaaGcbaqcLbsacaaIWa aakeaajugibiaaicdaaOqaaKqzGeGaaGimaaGcbaqcLbsacaWGIbWc daWgaaqaaKqzadGaam4CaiaadMhaaSqabaqcLbsacaWGtbqcfa4aaS baaSqaaKqzadGaaGOmaiaaikdaaSqabaaaaaGccaGLBbGaayzxaaaa aa@C556@ .

where,

D ij / = D ij +2e B ij + e 2 A ij MathType@MTEF@5@5@+= feaagKart1ev2aaatCvAUfeBSjuyZL2yd9gzLbvyNv2CaerbuLwBLn hiov2DGi1BTfMBaeXatLxBI9gBaerbd9wDYLwzYbItLDharqqtubsr 4rNCHbGeaGqiVu0Je9sqqrpepC0xbbL8F4rqqrFfpeea0xe9Lq=Jc9 vqaqpepm0xbba9pwe9Q8fs0=yqaqpepae9pg0FirpepeKkFr0xfr=x fr=xb9adbaqaaeGaciGaaiaabeqaamaabaabaaGcbaqcLbsacaWGeb qcfa4aa0baaSqaaKqzadGaamyAaiaadQgaaSqaaKqzGeGaai4laaaa cqGH9aqpcaWGebWcdaWgaaqaaKqzadGaamyAaiaadQgaaSqabaqcLb sacqGHRaWkcaaIYaGaamyzaiaadkeajuaGdaWgaaWcbaqcLbmacaWG PbGaamOAaaWcbeaajugibiabgUcaRiaadwgalmaaCaaabeqaaKqzad GaaGOmaaaajugibiaadgeajuaGdaWgaaWcbaqcLbmacaWGPbGaamOA aaWcbeaaaaa@52B7@ ; B ij / = B ij +e A ij MathType@MTEF@5@5@+= feaagKart1ev2aaatCvAUfeBSjuyZL2yd9gzLbvyNv2CaerbuLwBLn hiov2DGi1BTfMBaeXatLxBI9gBaerbd9wDYLwzYbItLDharqqtubsr 4rNCHbGeaGqiVu0Je9sqqrpepC0xbbL8F4rqqrFfpeea0xe9Lq=Jc9 vqaqpepm0xbba9pwe9Q8fs0=yqaqpepae9pg0FirpepeKkFr0xfr=x fr=xb9adbaqaaeGaciGaaiaabeqaamaabaabaaGcbaqcLbsacaWGcb WcdaqhaaqaaKqzadGaamyAaiaadQgaaSqaaKqzadGaai4laaaajugi biabg2da9iaadkealmaaBaaabaqcLbmacaWGPbGaamOAaaWcbeaaju gibiabgUcaRiaadwgacaWGbbqcfa4aaSbaaSqaaKqzadGaamyAaiaa dQgaaSqabaaaaa@48FF@ , (13)

and Aij, Bij, Dij and Sij are explained in an earlier paper by Sahoo & Chakravorty.14

Here the shear correction factor is taken as 5/6. The sectional parameters are calculated with respect to the mid-surface of the shell by which the effect of eccentricities of stiffeners is automatically included. The element stiffness matrices are of the following forms.
For X-stiffener: [ K xe ]= [ B sx ] T [ D sx ][ B sx ]dx MathType@MTEF@5@5@+= feaagKart1ev2aaatCvAUfeBSjuyZL2yd9gzLbvyNv2CaerbuLwBLn hiov2DGi1BTfMBaeXatLxBI9gBaerbd9wDYLwzYbItLDharqqtubsr 4rNCHbGeaGqiVu0Je9sqqrpepC0xbbL8F4rqqrFfpeea0xe9Lq=Jc9 vqaqpepm0xbba9pwe9Q8fs0=yqaqpepae9pg0FirpepeKkFr0xfr=x fr=xb9adbaqaaeGaciGaaiaabeqaamaabaabaaGcbaqcfa4aamWaaO qaaKqzGeGaam4saSWaaSbaaeaajugWaiaadIhacaWGLbaaleqaaaGc caGLBbGaayzxaaqcLbsacqGH9aqpjuaGdaWdbaGcbaqcfa4aamWaaO qaaKqzGeGaamOqaSWaaSbaaeaajugWaiaadohacaWG4baaleqaaaGc caGLBbGaayzxaaWcdaahaaqabeaajugWaiaadsfaaaqcfa4aamWaaO qaaKqzGeGaamiraSWaaSbaaeaajugWaiaadohacaWG4baaleqaaaGc caGLBbGaayzxaaqcfa4aamWaaOqaaKqzGeGaamOqaKqbaoaaBaaale aajugWaiaadohacaWG4baaleqaaaGccaGLBbGaayzxaaqcLbsacaWG KbGaamiEaaWcbeqabKqzGeGaey4kIipaaaa@5CE4@ ;             

for Y-stiffener: [ K ye ]= [ B sy ] T [ D sy ][ B sy ]dy MathType@MTEF@5@5@+= feaagKart1ev2aaatCvAUfeBSjuyZL2yd9gzLbvyNv2CaerbuLwBLn hiov2DGi1BTfMBaeXatLxBI9gBaerbd9wDYLwzYbItLDharqqtubsr 4rNCHbGeaGqiVu0Je9sqqrpepC0xbbL8F4rqqrFfpeea0xe9Lq=Jc9 vqaqpepm0xbba9pwe9Q8fs0=yqaqpepae9pg0FirpepeKkFr0xfr=x fr=xb9adbaqaaeGaciGaaiaabeqaamaabaabaaGcbaqcfa4aamWaaO qaaKqzGeGaam4saKqbaoaaBaaaleaajugWaiaadMhacaWGLbaaleqa aaGccaGLBbGaayzxaaqcLbsacqGH9aqpjuaGdaWdbaGcbaqcfa4aam WaaOqaaKqzGeGaamOqaKqbaoaaBaaaleaajugWaiaadohacaWG5baa leqaaaGccaGLBbGaayzxaaWcdaahaaqabeaajugWaiaadsfaaaqcfa 4aamWaaOqaaKqzGeGaamiraSWaaSbaaeaajugWaiaadohacaWG5baa leqaaaGccaGLBbGaayzxaaqcfa4aamWaaOqaaKqzGeGaamOqaSWaaS baaeaajugWaiaadohacaWG5baaleqaaaGccaGLBbGaayzxaaqcLbsa caWGKbGaamyEaaWcbeqabKqzGeGaey4kIipaaaa@5D77@ (14)

The integrals are converted to isoperimetric coordinates and are carried out by 2-point Gauss quadrature. Finally, the element stiffness matrix of the stiffened shell is obtained by appropriate matching of the nodes of the stiffener and shell elements through the connectivity matrix and is given as:

[ K e ]=[ K she ]+[ K xe ]+[ K ye ] MathType@MTEF@5@5@+= feaagKart1ev2aaatCvAUfeBSjuyZL2yd9gzLbvyNv2CaerbuLwBLn hiov2DGi1BTfMBaeXatLxBI9gBaerbd9wDYLwzYbItLDharqqtubsr 4rNCHbGeaGqiVu0Je9sqqrpepC0xbbL8F4rqqrFfpeea0xe9Lq=Jc9 vqaqpepm0xbba9pwe9Q8fs0=yqaqpepae9pg0FirpepeKkFr0xfr=x fr=xb9adbaqaaeGaciGaaiaabeqaamaabaabaaGcbaqcfa4aamWaaO qaaKqzGeGaam4saSWaaSbaaeaajugWaiaadwgaaSqabaaakiaawUfa caGLDbaajugibiabg2da9KqbaoaadmaakeaajugibiaadUealmaaBa aabaqcLbmacaWGZbGaamiAaiaadwgaaSqabaaakiaawUfacaGLDbaa jugibiabgUcaRKqbaoaadmaakeaajugibiaadUealmaaBaaabaqcLb macaWG4bGaamyzaaWcbeaaaOGaay5waiaaw2faaKqzGeGaey4kaSsc fa4aamWaaOqaaKqzGeGaam4saKqbaoaaBaaaleaajugWaiaadMhaca WGLbaaleqaaaGccaGLBbGaayzxaaaaaa@57E3@ . (15)

The element stiffness matrices are assembled to get the global matrices.

The element mass matrix for shell is obtained from the integral

[ M e ]= [ N ] T [ P ][ N ]dxdy MathType@MTEF@5@5@+= feaagKart1ev2aaatCvAUfeBSjuyZL2yd9gzLbvyNv2CaerbuLwBLn hiov2DGi1BTfMBaeXatLxBI9gBaerbd9wDYLwzYbItLDharqqtubsr 4rNCHbGeaGqiVu0Je9sqqrpepC0xbbL8F4rqqrFfpeea0xe9Lq=Jc9 vqaqpepm0xbba9pwe9Q8fs0=yqaqpepae9pg0FirpepeKkFr0xfr=x fr=xb9adbaqaaeGaciGaaiaabeqaamaabaabaaGcbaqcfa4aamWaaO qaaKqzGeGaamytaSWaaSbaaeaajugWaiaadwgaaSqabaaakiaawUfa caGLDbaajugibiabg2da9KqbaoaapiaakeaajuaGdaWadaGcbaqcLb sacaWGobaakiaawUfacaGLDbaaaSqabeqajugibiabgUIiYlabgUIi Ydqcfa4aaWbaaSqabeaajugWaiaadsfaaaqcfa4aamWaaOqaaKqzGe GaamiuaaGccaGLBbGaayzxaaqcfa4aamWaaOqaaKqzGeGaamOtaaGc caGLBbGaayzxaaqcLbsacaWGKbGaamiEaiaadsgacaWG5baaaa@55B2@ , (16)

Where,

[ N ]= i=1 8 [ N i 0 0 0 0 0 N i 0 0 0 0 0 N i 0 0 0 0 0 N i 0 0 0 0 0 N i ] MathType@MTEF@5@5@+= feaagKart1ev2aaatCvAUfeBSjuyZL2yd9gzLbvyNv2CaerbuLwBLn hiov2DGi1BTfMBaeXatLxBI9gBaerbd9wDYLwzYbItLDharqqtubsr 4rNCHbGeaGqiVu0Je9sqqrpepC0xbbL8F4rqqrFfpeea0xe9Lq=Jc9 vqaqpepm0xbba9pwe9Q8fs0=yqaqpepae9pg0FirpepeKkFr0xfr=x fr=xb9adbaqaaeGaciGaaiaabeqaamaabaabaaGcbaqcfa4aamWaaO qaaKqzGeGaamOtaaGccaGLBbGaayzxaaqcLbsacqGH9aqpjuaGdaae WbGcbaqcfa4aamWaaOqaaKqzGeqbaeqabuqbaaaaaOqaaKqzGeGaam OtaKqbaoaaBaaaleaajugWaiaadMgaaSqabaaakeaajugibiaaicda aOqaaKqzGeGaaGimaaGcbaqcLbsacaaIWaaakeaajugibiaaicdaaO qaaKqzGeGaaGimaaGcbaqcLbsacaWGobqcfa4aaSbaaSqaaKqzadGa amyAaaWcbeaaaOqaaKqzGeGaaGimaaGcbaqcLbsacaaIWaaakeaaju gibiaaicdaaOqaaKqzGeGaaGimaaGcbaqcLbsacaaIWaaakeaajugi biaad6ealmaaBaaabaqcLbmacaWGPbaaleqaaaGcbaqcLbsacaaIWa aakeaajugibiaaicdaaOqaaKqzGeGaaGimaaGcbaqcLbsacaaIWaaa keaajugibiaaicdaaOqaaKqzGeGaamOtaSWaaSbaaeaajugWaiaadM gaaSqabaaakeaajugibiaaicdaaOqaaKqzGeGaaGimaaGcbaqcLbsa caaIWaaakeaajugibiaaicdaaOqaaKqzGeGaaGimaaGcbaqcLbsaca WGobWcdaWgaaqaaKqzadGaamyAaaWcbeaaaaaakiaawUfacaGLDbaa aSqaaKqzadGaamyAaiabg2da9iaaigdaaSqaaKqzadGaaGioaaqcLb sacqGHris5aaaa@7656@ ,    [ P ]= i=1 8 [ P 0 0 0 0 0 P 0 0 0 0 0 P 0 0 0 0 0 I 0 0 0 0 0 I ] MathType@MTEF@5@5@+= feaagKart1ev2aaatCvAUfeBSjuyZL2yd9gzLbvyNv2CaerbuLwBLn hiov2DGi1BTfMBaeXatLxBI9gBaerbd9wDYLwzYbItLDharqqtubsr 4rNCHbGeaGqiVu0Je9sqqrpepC0xbbL8F4rqqrFfpeea0xe9Lq=Jc9 vqaqpepm0xbba9pwe9Q8fs0=yqaqpepae9pg0FirpepeKkFr0xfr=x fr=xb9adbaqaaeGaciGaaiaabeqaamaabaabaaGcbaqcfa4aamWaaO qaaKqzGeGaamiuaaGccaGLBbGaayzxaaqcLbsacqGH9aqpjuaGdaae WbGcbaqcfa4aamWaaOqaaKqzGeqbaeqabuqbaaaaaOqaaKqzGeGaam iuaaGcbaqcLbsacaaIWaaakeaajugibiaaicdaaOqaaKqzGeGaaGim aaGcbaqcLbsacaaIWaaakeaajugibiaaicdaaOqaaKqzGeGaamiuaa GcbaqcLbsacaaIWaaakeaajugibiaaicdaaOqaaKqzGeGaaGimaaGc baqcLbsacaaIWaaakeaajugibiaaicdaaOqaaKqzGeGaamiuaaGcba qcLbsacaaIWaaakeaajugibiaaicdaaOqaaKqzGeGaaGimaaGcbaqc LbsacaaIWaaakeaajugibiaaicdaaOqaaKqzGeGaamysaaGcbaqcLb sacaaIWaaakeaajugibiaaicdaaOqaaKqzGeGaaGimaaGcbaqcLbsa caaIWaaakeaajugibiaaicdaaOqaaKqzGeGaamysaaaaaOGaay5wai aaw2faaaWcbaqcLbmacaWGPbGaeyypa0JaaGymaaWcbaqcLbmacaaI 4aaajugibiabggHiLdaaaa@6999@ ,

in which

P= k=1 np z k1 z k ρdz MathType@MTEF@5@5@+= feaagKart1ev2aaatCvAUfeBSjuyZL2yd9gzLbvyNv2CaerbuLwBLn hiov2DGi1BTfMBaeXatLxBI9gBaerbd9wDYLwzYbItLDharqqtubsr 4rNCHbGeaGqiVu0Je9sqqrpepC0xbbL8F4rqqrFfpeea0xe9Lq=Jc9 vqaqpepm0xbba9pwe9Q8fs0=yqaqpepae9pg0FirpepeKkFr0xfr=x fr=xb9adbaqaaeGaciGaaiaabeqaamaabaabaaGcbaqcLbsacaWGqb Gaeyypa0tcfa4aaabCaOqaaKqbaoaapehakeaajugibiabeg8aYjaa dsgacaWG6baaleaajugibiaadQhalmaaBaaameaajugWaiaadUgacq GHsislcaaIXaaameqaaaWcbaqcLbmacaWG6bWcdaWgaaadbaqcLbma caWGRbaameqaaaqcLbsacqGHRiI8aaWcbaqcLbmacaWGRbGaeyypa0 JaaGymaaWcbaqcLbmacaWGUbGaamiCaaqcLbsacqGHris5aaaa@54A8@ and I= k=1 np z k1 z k zρdz MathType@MTEF@5@5@+= feaagKart1ev2aaatCvAUfeBSjuyZL2yd9gzLbvyNv2CaerbuLwBLn hiov2DGi1BTfMBaeXatLxBI9gBaerbd9wDYLwzYbItLDharqqtubsr 4rNCHbGeaGqiVu0Je9sqqrpepC0xbbL8F4rqqrFfpeea0xe9Lq=Jc9 vqaqpepm0xbba9pwe9Q8fs0=yqaqpepae9pg0FirpepeKkFr0xfr=x fr=xb9adbaqaaeGaciGaaiaabeqaamaabaabaaGcbaqcLbsacaWGjb Gaeyypa0tcfa4aaabCaOqaaKqbaoaapehakeaajugibiaadQhacqaH bpGCcaWGKbGaamOEaaWcbaqcLbsacaWG6bWcdaWgaaadbaqcLbmaca WGRbGaeyOeI0IaaGymaaadbeaaaSqaaKqzadGaamOEaSWaaSbaaWqa aKqzadGaam4AaaadbeaaaKqzGeGaey4kIipaaSqaaKqzadGaam4Aai abg2da9iaaigdaaSqaaKqzadGaamOBaiaadchaaKqzGeGaeyyeIuoa aaa@55A0@ (17)

Element mass matrix for stiffener element

[ M sx ]= [ N ] T [ P ][ N ]dx MathType@MTEF@5@5@+= feaagKart1ev2aaatCvAUfeBSjuyZL2yd9gzLbvyNv2CaerbuLwBLn hiov2DGi1BTfMBaeXatLxBI9gBaerbd9wDYLwzYbItLDharqqtubsr 4rNCHbGeaGqiVu0Je9sqqrpepC0xbbL8F4rqqrFfpeea0xe9Lq=Jc9 vqaqpepm0xbba9pwe9Q8fs0=yqaqpepae9pg0FirpepeKkFr0xfr=x fr=xb9adbaqaaeGaciGaaiaabeqaamaabaabaaGcbaqcfa4aamWaaO qaaKqzGeGaamytaKqbaoaaBaaaleaajugWaiaadohacaWG4baaleqa aaGccaGLBbGaayzxaaqcLbsacqGH9aqpjuaGdaWdcaGcbaqcfa4aam WaaOqaaKqzGeGaamOtaaGccaGLBbGaayzxaaaaleqabeqcLbsacqGH RiI8cqGHRiI8aSWaaWbaaeqabaqcLbmacaWGubaaaKqbaoaadmaake aajugibiaadcfaaOGaay5waiaaw2faaKqbaoaadmaakeaajugibiaa d6eaaOGaay5waiaaw2faaKqzGeGaamizaiaadIhaaaa@54D6@  for X stiffener

and         [ M sy ]= [ N ] T [ P ][ N ]dy MathType@MTEF@5@5@+= feaagKart1ev2aaatCvAUfeBSjuyZL2yd9gzLbvyNv2CaerbuLwBLn hiov2DGi1BTfMBaeXatLxBI9gBaerbd9wDYLwzYbItLDharqqtubsr 4rNCHbGeaGqiVu0Je9sqqrpepC0xbbL8F4rqqrFfpeea0xe9Lq=Jc9 vqaqpepm0xbba9pwe9Q8fs0=yqaqpepae9pg0FirpepeKkFr0xfr=x fr=xb9adbaqaaeGaciGaaiaabeqaamaabaabaaGcbaqcfa4aamWaaO qaaKqzGeGaamytaSWaaSbaaeaajugWaiaadohacaWG5baaleqaaaGc caGLBbGaayzxaaqcLbsacqGH9aqpjuaGdaWdcaGcbaqcfa4aamWaaO qaaKqzGeGaamOtaaGccaGLBbGaayzxaaaaleqabeqcLbsacqGHRiI8 cqGHRiI8aKqbaoaaCaaaleqabaqcLbmacaWGubaaaKqbaoaadmaake aajugibiaadcfaaOGaay5waiaaw2faaKqbaoaadmaakeaajugibiaa d6eaaOGaay5waiaaw2faaKqzGeGaamizaiaadMhaaaa@54D8@                 for Y stiffener (18)

Here,      [ N ] MathType@MTEF@5@5@+= feaagKart1ev2aaatCvAUfeBSjuyZL2yd9gzLbvyNv2CaerbuLwBLn hiov2DGi1BTfMBaeXatLxBI9gBaerbd9wDYLwzYbItLDharqqtubsr 4rNCHbGeaGqiVu0Je9sqqrpepC0xbbL8F4rqqrFfpeea0xe9Lq=Jc9 vqaqpepm0xbba9pwe9Q8fs0=yqaqpepae9pg0FirpepeKkFr0xfr=x fr=xb9adbaqaaeGaciGaaiaabeqaamaabaabaaGcbaqcfa4aamWaaO qaaKqzGeGaamOtaaGccaGLBbGaayzxaaaaaa@39EC@ is a 3x3 diagonal matrix.

[ P ]= i=1 3 [ ρ. b sx d sx 0 0 0 0 ρ. b sx d sx 0 0 0 0 ρ. b sx d sx 2 /12 0 0 0 0 ρ( b sx . d sx 3 + b sx 3 . d sx )/12 ] MathType@MTEF@5@5@+= feaagKart1ev2aaatCvAUfeBSjuyZL2yd9gzLbvyNv2CaerbuLwBLn hiov2DGi1BTfMBaeXatLxBI9gBaerbd9wDYLwzYbItLDharqqtubsr 4rNCHbGeaGqiVu0Je9sqqrpepC0xbbL8F4rqqrFfpeea0xe9Lq=Jc9 vqaqpepm0xbba9pwe9Q8fs0=yqaqpepae9pg0FirpepeKkFr0xfr=x fr=xb9adbaqaaeGaciGaaiaabeqaamaabaabaaGcbaqcfa4aamWaaO qaaKqzGeGaamiuaaGccaGLBbGaayzxaaqcLbsacqGH9aqpjuaGdaae WbGcbaqcfa4aamWaaOqaaKqzGeqbaeqabqabaaaaaOqaaKqzGeGaeq yWdiNaaiOlaiaadkgalmaaBaaabaqcLbmacaWGZbGaamiEaaWcbeaa jugibiaadsgalmaaBaaabaqcLbmacaWGZbGaamiEaaWcbeaaaOqaaK qzGeGaaGimaaGcbaqcLbsacaaIWaaakeaajugibiaaicdaaOqaaKqz GeGaaGimaaGcbaqcLbsacqaHbpGCcaGGUaGaamOyaKqbaoaaBaaale aajugWaiaadohacaWG4baaleqaaKqzGeGaamizaSWaaSbaaeaajugW aiaadohacaWG4baaleqaaaGcbaqcLbsacaaIWaaakeaajugibiaaic daaOqaaKqzGeGaaGimaaGcbaqcLbsacaaIWaaakeaajugibiabeg8a Yjaac6cacaWGIbqcfa4aaSbaaSqaaKqzadGaam4CaiaadIhaaSqaba qcLbsacaWGKbWcdaqhaaqaaKqzadGaam4CaiaadIhaaSqaaKqzadGa aGOmaaaajugibiaac+cacaaIXaGaaGOmaaGcbaqcLbsacaaIWaaake aajugibiaaicdaaOqaaKqzGeGaaGimaaGcbaqcLbsacaaIWaaakeaa jugibiabeg8aYjaacIcacaWGIbqcfa4aaSbaaSqaaKqzadGaam4Cai aadIhaaSqabaqcLbsacaGGUaGaamizaSWaa0baaeaajugWaiaadoha caWG4baaleaajugWaiaaiodaaaqcLbsacqGHRaWkcaWGIbWcdaqhaa qaaKqzadGaam4CaiaadIhaaSqaaKqzadGaaG4maaaajugibiaac6ca caWGKbWcdaWgaaqaaKqzadGaam4CaiaadIhaaSqabaqcLbsacaGGPa Gaai4laiaaigdacaaIYaaaaaGccaGLBbGaayzxaaaaleaajugWaiaa dMgacqGH9aqpcaaIXaaaleaajugWaiaaiodaaKqzGeGaeyyeIuoaaa a@A1BF@ For X-stiffener

[ P ]= i=1 3 [ ρ. b sy d sy 0 0 0 0 ρ. b sy d sy 0 0 0 0 ρ. b sy d sy 2 /12 0 0 0 0 ρ( b sy . d sy 3 + b sy 3 . d sy )/12 ] MathType@MTEF@5@5@+= feaagKart1ev2aaatCvAUfeBSjuyZL2yd9gzLbvyNv2CaerbuLwBLn hiov2DGi1BTfMBaeXatLxBI9gBaerbd9wDYLwzYbItLDharqqtubsr 4rNCHbGeaGqiVu0Je9sqqrpepC0xbbL8F4rqqrFfpeea0xe9Lq=Jc9 vqaqpepm0xbba9pwe9Q8fs0=yqaqpepae9pg0FirpepeKkFr0xfr=x fr=xb9adbaqaaeGaciGaaiaabeqaamaabaabaaGcbaqcfa4aamWaaO qaaKqzGeGaamiuaaGccaGLBbGaayzxaaqcLbsacqGH9aqpjuaGdaae WbGcbaqcfa4aamWaaOqaaKqzGeqbaeqabqabaaaaaOqaaKqzGeGaeq yWdiNaaiOlaiaadkgajuaGdaWgaaWcbaqcLbmacaWGZbGaamyEaaWc beaajugibiaadsgalmaaBaaabaqcLbmacaWGZbGaamyEaaWcbeaaaO qaaKqzGeGaaGimaaGcbaqcLbsacaaIWaaakeaajugibiaaicdaaOqa aKqzGeGaaGimaaGcbaqcLbsacqaHbpGCcaGGUaGaamOyaSWaaSbaae aajugWaiaadohacaWG5baaleqaaKqzGeGaamizaKqbaoaaBaaaleaa jugWaiaadohacaWG5baaleqaaaGcbaqcLbsacaaIWaaakeaajugibi aaicdaaOqaaKqzGeGaaGimaaGcbaqcLbsacaaIWaaakeaajugibiab eg8aYjaac6cacaWGIbqcfa4aaSbaaSqaaKqzadGaam4CaiaadMhaaS qabaqcLbsacaWGKbWcdaqhaaqaaKqzadGaam4CaiaadMhaaSqaaKqz adGaaGOmaaaajugibiaac+cacaaIXaGaaGOmaaGcbaqcLbsacaaIWa aakeaajugibiaaicdaaOqaaKqzGeGaaGimaaGcbaqcLbsacaaIWaaa keaajugibiabeg8aYjaacIcacaWGIbWcdaWgaaqaaKqzadGaam4Cai aadMhaaSqabaqcLbsacaGGUaGaamizaSWaa0baaeaajugWaiaadoha caWG5baaleaajugWaiaaiodaaaqcLbsacqGHRaWkcaWGIbWcdaqhaa qaaKqzadGaam4CaiaadMhaaSqaaKqzadGaaG4maaaajugibiaac6ca caWGKbWcdaWgaaqaaKqzadGaam4CaiaadMhaaSqabaqcLbsacaGGPa Gaai4laiaaigdacaaIYaaaaaGccaGLBbGaayzxaaaaleaajugWaiaa dMgacqGH9aqpcaaIXaaaleaajugWaiaaiodaaKqzGeGaeyyeIuoaaa a@A1C9@ for Y-stiffener

The mass matrix of the stiffened shell element is the sum of the matrices of the shell and the stiffeners matched at the appropriate nodes.

[ M e ]=[ M she ]+[ M xe ]+[ M ye ] MathType@MTEF@5@5@+= feaagKart1ev2aaatCvAUfeBSjuyZL2yd9gzLbvyNv2CaerbuLwBLn hiov2DGi1BTfMBaeXatLxBI9gBaerbd9wDYLwzYbItLDharqqtubsr 4rNCHbGeaGqiVu0Je9sqqrpepC0xbbL8F4rqqrFfpeea0xe9Lq=Jc9 vqaqpepm0xbba9pwe9Q8fs0=yqaqpepae9pg0FirpepeKkFr0xfr=x fr=xb9adbaqaaeGaciGaaiaabeqaamaabaabaaGcbaqcfa4aamWaaO qaaKqzGeGaamytaKqbaoaaBaaaleaajugWaiaadwgaaSqabaaakiaa wUfacaGLDbaajugibiabg2da9Kqbaoaadmaakeaajugibiaad2ealm aaBaaabaqcLbmacaWGZbGaamiAaiaadwgaaSqabaaakiaawUfacaGL DbaajugibiabgUcaRKqbaoaadmaakeaajugibiaad2ealmaaBaaaba qcLbmacaWG4bGaamyzaaWcbeaaaOGaay5waiaaw2faaKqzGeGaey4k aSscfa4aamWaaOqaaKqzGeGaamytaSWaaSbaaeaajugWaiaadMhaca WGLbaaleqaaaGccaGLBbGaayzxaaaaaa@57EB@ . (19)

The element mass matrices are assembled to get the global matrices. The code developed can take the position and size of cutout as input. The program is capable of generating non uniform finite element mesh all over the shell surface. So the element size is gradually decreased near the cutout margins.

The free vibration analysis involves determination of natural frequencies from the condition

| [ K ] ω 2 [ M ] |=0 MathType@MTEF@5@5@+= feaagKart1ev2aaatCvAUfeBSjuyZL2yd9gzLbvyNv2CaerbuLwBLn hiov2DGi1BTfMBaeXatLxBI9gBaerbd9wDYLwzYbItLDharqqtubsr 4rNCHbGeaGqiVu0Je9sqqrpepC0xbbL8F4rqqrFfpeea0xe9Lq=Jc9 vqaqpepm0xbba9pwe9Q8fs0=yqaqpepae9pg0FirpepeKkFr0xfr=x fr=xb9adbaqaaeGaciGaaiaabeqaamaabaabaaGcbaqcfa4aaqWaaO qaaKqzGeGaaGPaVNqbaoaadmaakeaajugibiaadUeaaOGaay5waiaa w2faaKqzGeGaeyOeI0IaeqyYdC3cdaahaaqabeaajugWaiaaikdaaa qcfa4aamWaaOqaaKqzGeGaamytaaGccaGLBbGaayzxaaqcLbsacaaM c8oakiaawEa7caGLiWoajugibiabg2da9iaaicdaaaa@4D85@ (20)

This is a generalized Eigen value problem and is solved by the subspace iteration algorithm.

Results and discussion

The results of Table 1 show that the agreement of present results with the earlier ones is excellent and the correctness of the stiffener formulation is established. Free vibration of clamped cylindrical shell of (0/90)4 lamination with cutouts is also considered. The fundamental frequencies of cylindrical shell with cutout obtained by the present method agree well with those reported by Chakravorty et al.15 as evident from Table 1, establishing the correctness of the cutout formulation. Thus it is evident that the finite element model proposed here can successfully analyze vibration problems of stiffened cylindrical composite shells with cutout which is reflected by close agreement of present results with benchmark ones.

/b=1, a/h=100, a//b/=1, h/Rxx= 0, h/Ryy=1/300

In order to study the effect of cutout size and position on the free vibration response additional problems for clamped cylindrical shells with 0/90/0/90 and +45/-45/+45/-45 laminations have been solved. The positions of the cutouts are varied along both of the plan directions of the shell to study the effect of eccentricity of cutout on the fundamental frequency.

Figure 1 Cylindrical shell with a concentric cutout stiffened along the margins.

a’/a

Chakravorty et al.15

Present Model

0

69.36

69.02

0.1

68.776

68.66

0.2

64.751

64.23

0.3

59.317

58.83

0.4

59.303

59.11

Table 1 Non-dimensional fundamental frequencies ( ω ¯ MathType@MTEF@5@5@+= feaagKart1ev2aaatCvAUfeBSjuyZL2yd9gzLbvyNv2CaerbuLwBLn hiov2DGi1BTfMBaeXatLxBI9gBaerbd9wDYLwzYbItLDharqqtubsr 4rNCHbGeaGqiVu0Je9sqqrpepC0xbbL8F4rqqrFfpeea0xe9Lq=Jc9 vqaqpepm0xbba9pwe9Q8fs0=yqaqpepae9pg0FirpepeKkFr0xfr=x fr=xb9adbaqaaeGaciGaaiaabeqaamaabaabaaGcbaqcfa4aa0aaaO qaaKqzGeGaeqyYdChaaaaa@38FB@ ) for clamped laminated composite cylindrical shell with cutout

Table 2 furnishes the results of non-dimensional frequency ( ω ¯ MathType@MTEF@5@5@+= feaagKart1ev2aaatCvAUfeBSjuyZL2yd9gzLbvyNv2CaerbuLwBLn hiov2DGi1BTfMBaeXatLxBI9gBaerbd9wDYLwzYbItLDharqqtubsr 4rNCHbGeaGqiVCI8FfYJH8YrFfeuY=Hhbbf9v8qqaqFr0xc9pk0xbb a9q8WqFfeaY=biLkVcLq=JHqpepeea0=as0Fb9pgeaYRXxe9vr0=vr 0=vqpWqaaeaabiGaciaacaqabeaadaqaaqaaaOqaaKqbaoaanaaake aajugibiabeM8a3baaaaa@38F0@ ) of 0/90/0/90 and +45/-45/+45/-45 stiffened cylindrical shells with cutout. The shells considered are of square plan form (a=b) and the cutouts are also taken to be square in plan (a/=b/). The cutouts placed concentrically on the shell surface. The cutout sizes (i.e. a//a) are varied from 0 to 0.4. The stiffeners are place along the cutout periphery and extended up to the edge of the shell. The material and geometric properties of shells and cutouts are mentioned along with the Table.

a/b=1, a/h=100, a / / b / MathType@MTEF@5@5@+= feaagKart1ev2aqatCvAUfeBSjuyZL2yd9gzLbvyNv2CaerbuLwBLn hiov2DGi1BTfMBaeXatLxBI9gBaerbd9wDYLwzYbItLDharqqtubsr 4rNCHbGeaGqiVCI8FfYJH8YrFfeuY=Hhbbf9v8qqaqFr0xc9pk0xbb a9q8WqFfeaY=biLkVcLq=JHqpepeea0=as0Fb9pgeaYRXxe9vr0=vr 0=vqpWqaaeaabiGaciaacaqabeaadaqaaqaaaOqaaKqbaoaalyaake aajugibiaadggalmaaCaaabeqaaKqzadGaai4laaaaaOqaaKqzGeGa amOyaSWaaWbaaeqabaqcLbmacaGGVaaaaaaaaaa@3DAB@ =1, h/Rxx=0, h/Ryy=1/300; E11/E22= 25, G23 = 0.2E22, G13= G12= 0.5E22, n12 =n21 =0.25.

From Table 2 it is seen that when a cutout is introduced to a stiffened shell the fundamental frequency changes in all the cases. This trend is noticed for both cross ply and angle ply shells. This initial increase in frequency is due to the fact that with the introduction of cutout, numbers of stiffeners increases from two to four in the present study. As the cutout grows in size the loss of mass is more significant than loss of stiffness, and hence the frequency increases. As with the introduction of a cutout of a//a=0.2, in shell surface, the frequency increases in most of the cases, this leads to the engineering conclusion that concentric cutouts with stiffened margins may be provided safely on shell surfaces for functional requirements upto a//a=0.2.

Laminations

Cutout Size ( a / /a MathType@MTEF@5@5@+= feaagKart1ev2aaatCvAUfeBSjuyZL2yd9gzLbvyNv2CaerbuLwBLn hiov2DGi1BTfMBaeXatLxBI9gBaerbd9wDYLwzYbItLDharqqtubsr 4rNCHbGeaGqiVCI8FfYJH8YrFfeuY=Hhbbf9v8qqaqFr0xc9pk0xbb a9q8WqFfeaY=biLkVcLq=JHqpepeea0=as0Fb9pgeaYRXxe9vr0=vr 0=vqpWqaaeaabiGaciaacaqabeaadaqaaqaaaOqaaKqbaoaalyaake aajugibiaadggalmaaCaaabeqaaKqzadGaai4laaaaaOqaaKqzGeGa amyyaaaaaaa@3B9B@ )

0

0.1

0.2

0.3

0.4

0/90/0/90

89.34

103.45

111.3

110.68

110.34

0.00049383

91.97

102.69

102.62

102.45

103.1

Table 2 Non-dimensional fundamental frequencies ( ω ¯ MathType@MTEF@5@5@+= feaagKart1ev2aaatCvAUfeBSjuyZL2yd9gzLbvyNv2CaerbuLwBLn hiov2DGi1BTfMBaeXatLxBI9gBaerbd9wDYLwzYbItLDharqqtubsr 4rNCHbGeaGqiVu0Je9sqqrpepC0xbbL8F4rqqrFfpeea0xe9Lq=Jc9 vqaqpepm0xbba9pwe9Q8fs0=yqaqpepae9pg0FirpepeKkFr0xfr=x fr=xb9adbaqaaeGaciGaaiaabeqaamaabaabaaGcbaqcfa4aa0aaaO qaaKqzGeGaeqyYdChaaaaa@38FB@ ) for laminated composite stiffened cylindrical shell for different sizes of the central square cutout and different laminations

The mode shapes corresponding to the fundamental modes of vibration are plotted in Figure 2,3 for cross ply and angle ply shells respectively. The normalized displacements are drawn with the shell mid-surface as the reference for all the support condition and for all the lamination used here. For corner point supported shells the fundamental mode shapes are complicated. With the introduction of cutout mode shapes remain almost similar. When the size of the cutout is increased from 0.2 to 0.4 the fundamental modes of vibration do not change to an appreciable amount.

The effect of eccentricity of cutout positions on fundamental frequencies, are studied from the results obtained for different locations of a cutout with a//a=0.2. The non-dimensional coordinates of the cutout centre ( x ¯ = x a , y ¯ = y a MathType@MTEF@5@5@+= feaagKart1ev2aqatCvAUfeBSjuyZL2yd9gzLbvyNv2CaerbuLwBLn hiov2DGi1BTfMBaeXatLxBI9gBaerbd9wDYLwzYbItLDharqqtubsr 4rNCHbGeaGqiVCI8FfYJH8YrFfeuY=Hhbbf9v8qqaqFr0xc9pk0xbb a9q8WqFfeaY=biLkVcLq=JHqpepeea0=as0Fb9pgeaYRXxe9vr0=vr 0=vqpWqaaeaabiGaciaacaqabeaadaqaaqaaaOqaaKqbaoaanaaake aajugibiaadIhaaaGaeyypa0tcfa4aaSaaaOqaaKqzGeGaamiEaaGc baqcLbsacaWGHbaaaiaacYcajuaGdaqdaaGcbaqcLbsacaWG5baaai abg2da9KqbaoaalaaakeaajugibiaadMhaaOqaaKqzGeGaamyyaaaa aaa@447A@ ) was varied from 0.2 to 0.8 along each directions, so that the distance of a cutout margin from the shell boundary was not less than one tenth of the plan dimension of the shell. The fundamental frequency of a shell with an eccentric cutout is expressed as a percentage of fundamental frequency of a shell with a concentric cutout. This percentage is denoted by r in Table 3. It can be seen that eccentricity of the cutout along the length of the shell towards the edges makes it more flexible. It is also seen that almost all the cases r value is maximum in and around x ¯ =0.5 MathType@MTEF@5@5@+= feaagKart1ev2aqatCvAUfeBSjuyZL2yd9gzLbvyNv2CaerbuLwBLn hiov2DGi1BTfMBaeXatLxBI9gBaerbd9wDYLwzYbItLDharqqtubsr 4rNCHbGeaGqiVCI8FfYJH8YrFfeuY=Hhbbf9v8qqaqFr0xc9pk0xbb a9q8WqFfeaY=biLkVcLq=JHqpepeea0=as0Fb9pgeaYRXxe9vr0=vr 0=vqpWqaaeaabiGaciaacaqabeaadaqaaqaaaOqaaKqbaoaanaaake aajugibiaadIhaaaGaeyypa0JaaGimaiaac6cacaaI1aaaaa@3B52@  and y ¯ =0.5 MathType@MTEF@5@5@+= feaagKart1ev2aqatCvAUfeBSjuyZL2yd9gzLbvyNv2CaerbuLwBLn hiov2DGi1BTfMBaeXatLxBI9gBaerbd9wDYLwzYbItLDharqqtubsr 4rNCHbGeaGqiVCI8FfYJH8YrFfeuY=Hhbbf9v8qqaqFr0xc9pk0xbb a9q8WqFfeaY=biLkVcLq=JHqpepeea0=as0Fb9pgeaYRXxe9vr0=vr 0=vqpWqaaeaabiGaciaacaqabeaadaqaaqaaaOqaaKqbaoaanaaake aajugibiaadMhaaaGaeyypa0JaaGimaiaac6cacaaI1aaaaa@3B53@ . It is noticed that for clamped cylindrical shells the maximum fundamental frequency always occurs along the diagonal of the shell. This table indicates the maximum eccentricity of a cutout which can be permitted if the fundamental frequency of a concentrically punctured shell is not to reduce a drastic amount.

Lamination

 

y ¯ MathType@MTEF@5@5@+= feaagKart1ev2aqatCvAUfeBSjuyZL2yd9gzLbvyNv2CaerbuLwBLn hiov2DGi1BTfMBaeXatLxBI9gBaerbd9wDYLwzYbItLDharqqtubsr 4rNCHbGeaGqiVu0Je9sqqrpepC0xbbL8F4rqqrFfpeea0xe9Lq=Jc9 vqaqpepm0xbba9pwe9Q8fs0=yqaqpepae9pg0FirpepeKkFr0xfr=x fr=xb9adbaqaaeGaciGaaiaabeqaamaabaabaaGcbaGabmyEayaara aaaa@370D@

x ¯ MathType@MTEF@5@5@+= feaagKart1ev2aqatCvAUfeBSjuyZL2yd9gzLbvyNv2CaerbuLwBLn hiov2DGi1BTfMBaeXatLxBI9gBaerbd9wDYLwzYbItLDharqqtubsr 4rNCHbGeaGqiVu0Je9sqqrpepC0xbbL8F4rqqrFfpeea0xe9Lq=Jc9 vqaqpepm0xbba9pwe9Q8fs0=yqaqpepae9pg0FirpepeKkFr0xfr=x fr=xb9adbaqaaeGaciGaaiaabeqaamaabaabaaGcbaGabmiEayaara aaaa@370C@

0.2

0.3

0.4

0.5

0.6

0.7

0.8

0/90/0/90

0.2

71.34

78.68

88.30

90.61

88.23

78.68

71.34

0.3

71.05

78.22

87.96

92.36

87.96

78.22

71.05

0.4

70.93

78.20

88.54

95.88

88.54

78.20

70.93

0.5

71.11

78.49

89.10

100.00

89.10

78.49

71.11

0.6

70.94

78.20

88.54

95.88

88.54

78.20

70.93

0.7

71.05

78.22

87.96

92.36

87.96

78.22

71.05

0.8

71.14

78.45

88.04

90.59

88.24

78.51

71.20

0.000494

0.2

74.09

77.65

83.40

89.83

83.42

77.69

74.15

0.3

76.29

80.57

86.83

92.59

86.84

80.62

76.36

0.4

80.18

85.32

92.00

96.93

92.00

85.35

80.23

0.5

85.27

90.33

96.25

100.00

96.25

90.33

85.27

0.6

80.23

85.36

92.00

96.93

92.00

85.32

80.18

0.7

76.36

80.62

86.84

92.59

86.83

80.57

76.29

0.8

74.15

77.69

83.41

89.82

83.40

77.64

74.09

Table 3 Values of ‘r’ for clamped cylindrical shells


Figure 2 First mode shapes of laminated composite (0/90/0/90) stiffened cylindrical shell for different sizes of the central square cutout (a) a / /a MathType@MTEF@5@5@+= feaagKart1ev2aqatCvAUfeBSjuyZL2yd9gzLbvyNv2CaerbuLwBLn hiov2DGi1BTfMBaeXatLxBI9gBaerbd9wDYLwzYbItLDharqqtubsr 4rNCHbGeaGqiVCI8FfYJH8YrFfeuY=Hhbbf9v8qqaqFr0xc9pk0xbb a9q8WqFfeaY=biLkVcLq=JHqpepeea0=as0Fb9pgeaYRXxe9vr0=vr 0=vqpWqaaeaabiGaciaacaqabeaadaqaaqaaaOqaaKqbaoaalyaake aajugibiaadggajuaGdaahaaWcbeqaaKqzadGaai4laaaaaOqaaKqz GeGaamyyaaaaaaa@3C2A@ =0, (b) a / /a MathType@MTEF@5@5@+= feaagKart1ev2aqatCvAUfeBSjuyZL2yd9gzLbvyNv2CaerbuLwBLn hiov2DGi1BTfMBaeXatLxBI9gBaerbd9wDYLwzYbItLDharqqtubsr 4rNCHbGeaGqiVCI8FfYJH8YrFfeuY=Hhbbf9v8qqaqFr0xc9pk0xbb a9q8WqFfeaY=biLkVcLq=JHqpepeea0=as0Fb9pgeaYRXxe9vr0=vr 0=vqpWqaaeaabiGaciaacaqabeaadaqaaqaaaOqaaKqbaoaalyaake aajugibiaadggajuaGdaahaaWcbeqaaKqzadGaai4laaaaaOqaaKqz GeGaamyyaaaaaaa@3C2A@ =0.1, (c) a / /a MathType@MTEF@5@5@+= feaagKart1ev2aaatCvAUfeBSjuyZL2yd9gzLbvyNv2CaerbuLwBLn hiov2DGi1BTfMBaeXatLxBI9gBaerbd9wDYLwzYbItLDharqqtubsr 4rNCHbGeaGqiVCI8FfYJH8YrFfeuY=Hhbbf9v8qqaqFr0xc9pk0xbb a9q8WqFfeaY=biLkVcLq=JHqpepeea0=as0Fb9pgeaYRXxe9vr0=vr 0=vqpWqaaeaabiGaciaacaqabeaadaqaaqaaaOqaaKqbaoaalyaake aajugibiaadggajuaGdaahaaWcbeqaaKqzadGaai4laaaaaOqaaKqz GeGaamyyaaaaaaa@3C29@ =0.2, (d) a / /a MathType@MTEF@5@5@+= feaagKart1ev2aqatCvAUfeBSjuyZL2yd9gzLbvyNv2CaerbuLwBLn hiov2DGi1BTfMBaeXatLxBI9gBaerbd9wDYLwzYbItLDharqqtubsr 4rNCHbGeaGqiVCI8FfYJH8YrFfeuY=Hhbbf9v8qqaqFr0xc9pk0xbb a9q8WqFfeaY=biLkVcLq=JHqpepeea0=as0Fb9pgeaYRXxe9vr0=vr 0=vqpWqaaeaabiGaciaacaqabeaadaqaaqaaaOqaaKqbaoaalyaake aajugibiaadggajuaGdaahaaWcbeqaaKqzadGaai4laaaaaOqaaKqz GeGaamyyaaaaaaa@3C2A@ =0.3, (e) a / /a MathType@MTEF@5@5@+= feaagKart1ev2aqatCvAUfeBSjuyZL2yd9gzLbvyNv2CaerbuLwBLn hiov2DGi1BTfMBaeXatLxBI9gBaerbd9wDYLwzYbItLDharqqtubsr 4rNCHbGeaGqiVCI8FfYJH8YrFfeuY=Hhbbf9v8qqaqFr0xc9pk0xbb a9q8WqFfeaY=biLkVcLq=JHqpepeea0=as0Fb9pgeaYRXxe9vr0=vr 0=vqpWqaaeaabiGaciaacaqabeaadaqaaqaaaOqaaKqbaoaalyaake aajugibiaadggajuaGdaahaaWcbeqaaKqzadGaai4laaaaaOqaaKqz GeGaamyyaaaaaaa@3C2A@ =0.4.



Figure 3 First mode shapes of laminated composite (+45/-45/+45/-45) stiffened cylindrical shell for different sizes of the central square cutout (a) a / /a MathType@MTEF@5@5@+= feaagKart1ev2aqatCvAUfeBSjuyZL2yd9gzLbvyNv2CaerbuLwBLn hiov2DGi1BTfMBaeXatLxBI9gBaerbd9wDYLwzYbItLDharqqtubsr 4rNCHbGeaGqiVCI8FfYJH8YrFfeuY=Hhbbf9v8qqaqFr0xc9pk0xbb a9q8WqFfeaY=biLkVcLq=JHqpepeea0=as0Fb9pgeaYRXxe9vr0=vr 0=vqpWqaaeaabiGaciaacaqabeaadaqaaqaaaOqaaKqbaoaalyaake aajugibiaadggajuaGdaahaaWcbeqaaKqzadGaai4laaaaaOqaaKqz GeGaamyyaaaaaaa@3C2A@ =0, (b) a / /a MathType@MTEF@5@5@+= feaagKart1ev2aqatCvAUfeBSjuyZL2yd9gzLbvyNv2CaerbuLwBLn hiov2DGi1BTfMBaeXatLxBI9gBaerbd9wDYLwzYbItLDharqqtubsr 4rNCHbGeaGqiVCI8FfYJH8YrFfeuY=Hhbbf9v8qqaqFr0xc9pk0xbb a9q8WqFfeaY=biLkVcLq=JHqpepeea0=as0Fb9pgeaYRXxe9vr0=vr 0=vqpWqaaeaabiGaciaacaqabeaadaqaaqaaaOqaaKqbaoaalyaake aajugibiaadggajuaGdaahaaWcbeqaaKqzadGaai4laaaaaOqaaKqz GeGaamyyaaaaaaa@3C2A@ =0.1, (c) a / /a MathType@MTEF@5@5@+= feaagKart1ev2aqatCvAUfeBSjuyZL2yd9gzLbvyNv2CaerbuLwBLn hiov2DGi1BTfMBaeXatLxBI9gBaerbd9wDYLwzYbItLDharqqtubsr 4rNCHbGeaGqiVCI8FfYJH8YrFfeuY=Hhbbf9v8qqaqFr0xc9pk0xbb a9q8WqFfeaY=biLkVcLq=JHqpepeea0=as0Fb9pgeaYRXxe9vr0=vr 0=vqpWqaaeaabiGaciaacaqabeaadaqaaqaaaOqaaKqbaoaalyaake aajugibiaadggajuaGdaahaaWcbeqaaKqzadGaai4laaaaaOqaaKqz GeGaamyyaaaaaaa@3C2A@ =0.2, (d) a / /a MathType@MTEF@5@5@+= feaagKart1ev2aqatCvAUfeBSjuyZL2yd9gzLbvyNv2CaerbuLwBLn hiov2DGi1BTfMBaeXatLxBI9gBaerbd9wDYLwzYbItLDharqqtubsr 4rNCHbGeaGqiVCI8FfYJH8YrFfeuY=Hhbbf9v8qqaqFr0xc9pk0xbb a9q8WqFfeaY=biLkVcLq=JHqpepeea0=as0Fb9pgeaYRXxe9vr0=vr 0=vqpWqaaeaabiGaciaacaqabeaadaqaaqaaaOqaaKqbaoaalyaake aajugibiaadggajuaGdaahaaWcbeqaaKqzadGaai4laaaaaOqaaKqz GeGaamyyaaaaaaa@3C2A@ =0.3, (e) a / /a MathType@MTEF@5@5@+= feaagKart1ev2aqatCvAUfeBSjuyZL2yd9gzLbvyNv2CaerbuLwBLn hiov2DGi1BTfMBaeXatLxBI9gBaerbd9wDYLwzYbItLDharqqtubsr 4rNCHbGeaGqiVCI8FfYJH8YrFfeuY=Hhbbf9v8qqaqFr0xc9pk0xbb a9q8WqFfeaY=biLkVcLq=JHqpepeea0=as0Fb9pgeaYRXxe9vr0=vr 0=vqpWqaaeaabiGaciaacaqabeaadaqaaqaaaOqaaKqbaoaalyaake aajugibiaadggajuaGdaahaaWcbeqaaKqzadGaai4laaaaaOqaaKqz GeGaamyyaaaaaaa@3C2A@ =0.4.

Conclusion

Present results are in close agreement with those of the benchmark problems. Thus the finite element code used here is suitable for analyzing free vibration problems of stiffened cylindrical panels with cutouts. The relative free vibration performances of shells are expected to be very useful in decision-making for practicing engineers. The information regarding the behavior of clamped stiffened cylindrical shell with eccentric cutouts for a wide spectrum of eccentricity for cross ply and angle ply shells may also be used as design aids for structural engineers.

Acknowledgements

None.

Conflict of interest

The author declares no conflict of interest.

References

  1. Markus S. The Mechanics of Vibrations of Cylindrical Shells. UK: Elsevier; 1998.
  2. Arnold RN, Warburton GB. Flexural vibrations of the walls of thin cylindrical shell having freely supported ends. Proc R Soc Lond A. 1949;197(1049):238–256.
  3. Arnold RN, Warburton GB. The flexural vibration of thin cylinders. Proc Inst Mech Eng. 1953;167:62–80.
  4. Warburton GB. Vibration of thin cylindrical shell. J Mech Eng Sci. 1965;7:399–407.
  5. Leissa W, Lee JK, Wang AJ. Vibrations of cantilevered shallow cylindrical shells of rectangular planform. Journal of Sound and Vibration. 1981;78(3):311–328.
  6. Chung H. Free vibration analysis of circular cylindrical shells. Journal of Sound and Vibration. 1981;74(3):331–350.
  7. Soldatos KP. Free vibrations of antisymmetric angle–ply laminated circular cylindrical panels. Quarterly Journal of Mechanics and Applied Mathematics. 1983;36(2):207–221.
  8. Noor K, Burton WS. Assessment of computational models for multi–layered composite shells. Applied Mechanics Review. 1990;43(4):67–97.
  9. Leissa W. Vibration of shells. NASA SP–288, 1973, Reprinted by Acoustical Society of America. USA: America Institute of Physics; 1993.
  10. Dennis ST, Palazotto AN. Static response of a cylindrical composite panel with cutout using geometrically nonlinear theory. AIAA Journal. 1990;28(6):1082–1088.
  11. Nanda N, Bandyopadhyay JN. Nonlinear free vibration analysis of laminated composite cylindrical shells with cutouts. Journal of Reinforced Plastics and Composites. 2007;26(14):1413–1427.
  12. Vasiliev VV, Jones RM, Man LL. Mechanics of Composite Structures. USA: Taylor and Francis; 1993.
  13. Qatu MS. Vibration of Laminated Shells and Plates. UK: Elsevier; 2004.
  14. Sahoo S, Chakravorty D. Finite element vibration characteristics of composite hypar shallow shells with various edge supports. Journal of Vibration and Control. 2005;11(10):1291–1309.
  15. Chakravorty D, Sinha PK, Bandyopadhyay JN. Applications of FEM on free and forced vibration of laminated shells. ASCE Journal of Engineering Mechanics. 1998;124(1):1–8.
Creative Commons Attribution License

©2017 Sahoo. This is an open access article distributed under the terms of the, which permits unrestricted use, distribution, and build upon your work non-commercially.